Самодельный центроискатель

Контроллеры, драйверы, датчики, управляющие устройства.
Аватара пользователя
xvovanx
Мастер
Сообщения: 3775
Зарегистрирован: 25 фев 2016, 12:27
Репутация: 920
Настоящее имя: Владимир
Откуда: Latvia
Контактная информация:

Re: Самодельный центроискатель

Сообщение xvovanx »

Сергей Саныч писал(а):По схеме с ОК включен входной транзистор. Откуда у него на коллекторе возьмется 12 вольт при открытом выходном? А он при разомкнутых контактах будет открыт.
Схему надо целиком рассматривать, а не только отдельные элементы.
И все-таки померяйте в реале...
Посмотрите мою приложенную схему вначале нарисованную от руки, там же коллектор выходного ключа не связан на прямую с питанием (через резистор 10к). Питание как подается 12, так оно и стоит. Сигнал 12/0 идет в схему с коллектора выходного ключа. Грубо - ключ на транзисторе, только с высокоомным входом. Если б был связан напрямую, то получили бы мультивибратор :D : открылся - напруга упала - сам закрылся - напруга поднялась - открылся -...
Вложения
20180405_153516 (1).jpg (4328 просмотров) <a class='original' href='./download/file.php?id=136513&mode=view' target=_blank>Загрузить оригинал (123.05 КБ)</a>
Последний раз редактировалось xvovanx 06 апр 2018, 14:30, всего редактировалось 2 раза.
Аватара пользователя
Сергей Саныч
Мастер
Сообщения: 9116
Зарегистрирован: 30 май 2012, 14:20
Репутация: 2858
Откуда: Тюмень
Контактная информация:

Re: Самодельный центроискатель

Сообщение Сергей Саныч »

Меня смущал диод на блок-схеме TL431. Если ей верить, то он должен "засаживать" вход на GND при открытом выходном транзисторе.
PS: смоделировал в PSpice - "засаживания" не наблюдается. Надо живьем смотреть.
PPS: посмотрел доки от TI - не нарисован там этот диод.
2018-04-06_164224.png (4314 просмотров) <a class='original' href='./download/file.php?id=136515&mode=view' target=_blank>Загрузить оригинал (29.15 КБ)</a>
Так что вопрос пока снимается.
Последний раз редактировалось Сергей Саныч 06 апр 2018, 14:45, всего редактировалось 1 раз.
Чудес не бывает. Бывают фокусы.
Аватара пользователя
xvovanx
Мастер
Сообщения: 3775
Зарегистрирован: 25 фев 2016, 12:27
Репутация: 920
Настоящее имя: Владимир
Откуда: Latvia
Контактная информация:

Re: Самодельный центроискатель

Сообщение xvovanx »

Сергей Саныч писал(а):Меня смущал диод на блок-схеме TL431. Если ей верить, то он должен "засаживать" вход на GND при открытом выходном транзисторе.
да некорректно нарисовано...полагаю для смысла защиты от перенапряжения или обратной полярности индукт.нагрузок.
Сергей Саныч писал(а):Надо живьем смотреть.
Да я проверял перед использованием работу 431, чисто как ключ работает. В нете полно схем как народ 431 использует в терморегуляторах и прочих коммутаторах, а не только в роли регуляторов блока питания. Компаратор с опорным источником в составе, не возбуждается, удобно использовать, почему бы и нет
Аватара пользователя
Сергей Саныч
Мастер
Сообщения: 9116
Зарегистрирован: 30 май 2012, 14:20
Репутация: 2858
Откуда: Тюмень
Контактная информация:

Re: Самодельный центроискатель

Сообщение Сергей Саныч »

Нашел я в закромах эту микросхемку. Правда, не TL, а LT431. Спаял схемку.
Истина оказалась примерно посередине.
При R1 = 10к и питании 12В напряжение на разомкнутых контактах получилось 6,6В. При 100к - 3В.
То есть при Uref > Ucathode на входе микросхемы появляется значительный втекающий ток (сотни микроампер).
При этом в номинальном режиме этот ток не превышает нормы - около 2 мкА.
Чудес не бывает. Бывают фокусы.
Аватара пользователя
xvovanx
Мастер
Сообщения: 3775
Зарегистрирован: 25 фев 2016, 12:27
Репутация: 920
Настоящее имя: Владимир
Откуда: Latvia
Контактная информация:

Re: Самодельный центроискатель

Сообщение xvovanx »

Только что фрезанул углубления (три посадочных места) на хабе и в верхней крышке для трех полупружинок от шариковых ручек. Поставил вместо одной пружины по центру три над шариками и все отлично и точно заработало :good: ! Так что идея хаба с углубленными, а не торчащими штифтами работает :ura: !
В итоге получился вот такой "клоп-центроискатель". Еще раз всем спасибо за идеи и подсказки :clap: !
Вложения
20180406_204355.jpg (4258 просмотров) <a class='original' href='./download/file.php?id=136526&mode=view' target=_blank>Загрузить оригинал (3.76 МБ)</a>
Аватара пользователя
Kachik
Мастер
Сообщения: 1413
Зарегистрирован: 13 янв 2017, 16:22
Репутация: 308
Настоящее имя: Сергей
Откуда: Питер
Контактная информация:

Re: Самодельный центроискатель

Сообщение Kachik »

А почему не поставить 3 пружинки, разнеся их максимально по сторонам ?
Аватара пользователя
ScrewDriver
Мастер
Сообщения: 1942
Зарегистрирован: 06 сен 2016, 01:44
Репутация: 498
Настоящее имя: Василий
Откуда: Москва
Контактная информация:

Re: Самодельный центроискатель

Сообщение ScrewDriver »

xvovanx писал(а):Только что фрезанул углубления (три посадочных места) на хабе и в верхней крышке для трех полупружинок от шариковых ручек. Поставил вместо одной пружины по центру три над шариками и все отлично и точно заработало :good: ! Так что идея хаба с углубленными, а не торчащими штифтами работает :ura: !
В итоге получился вот такой "клоп-центроискатель". Еще раз всем спасибо за идеи и подсказки :clap: !
А проектом с народом поделиться? ;)
Промышленная автоматика, ПЛК, приводы, SCADA системы
Мой Ютуб канал.
Аватара пользователя
xvovanx
Мастер
Сообщения: 3775
Зарегистрирован: 25 фев 2016, 12:27
Репутация: 920
Настоящее имя: Владимир
Откуда: Latvia
Контактная информация:

Re: Самодельный центроискатель

Сообщение xvovanx »

Kachik писал(а):А почему не поставить 3 пружинки, разнеся их максимально по сторонам ?
Максимально по краям не ставил, побоялся что при сжимании пружина опять будет уводить хаб в сторону. Поставил прямо над контактами шток-шарики.
ScrewDriver писал(а):А проектом с народом поделиться?
Конечно. В архиве файл в Автокаде, сохранил и pdf-е и пакет файлов Г-кодов (для удобства разделил отдельно по деталям, по сторонам обработки и по операциям смены инструмента). Файлы обработки алюминия "нежные" с врезанием под углом 30 градусов, съем по 0.1мм, так что любой станок справится ;). Что не понятно- поясню.
Вложения
1.jpg (4225 просмотров) <a class='original' href='./download/file.php?id=136532&mode=view' target=_blank>Загрузить оригинал (63.95 КБ)</a>
Touch Probe.rar
(319.38 КБ) 518 скачиваний
Аватара пользователя
xvovanx
Мастер
Сообщения: 3775
Зарегистрирован: 25 фев 2016, 12:27
Репутация: 920
Настоящее имя: Владимир
Откуда: Latvia
Контактная информация:

Re: Самодельный центроискатель

Сообщение xvovanx »

Извиняюсь, забыл добавить сегодняшние два файла операций для трех пружинок в хабе и верхней крышке ;)
Вложения
3 pruzinki.rar
(1.74 КБ) 447 скачиваний
trikot
Опытный
Сообщения: 165
Зарегистрирован: 08 апр 2017, 22:27
Репутация: 25
Настоящее имя: Ян
Откуда: Москва
Контактная информация:

Re: Самодельный центроискатель

Сообщение trikot »

Судя по всему в качестве оси вы использовали старую фрезу или гравер. Как закреплена ось в корпусе центроискателя? С соосностью оси и корпуса проблем не возникало?
И еще вопрос. От какого подшипника шарики? Чтобы не громить лишнего :))
Аватара пользователя
xvovanx
Мастер
Сообщения: 3775
Зарегистрирован: 25 фев 2016, 12:27
Репутация: 920
Настоящее имя: Владимир
Откуда: Latvia
Контактная информация:

Re: Самодельный центроискатель

Сообщение xvovanx »

trikot писал(а):Судя по всему в качестве оси вы использовали старую фрезу или гравер. Как закреплена ось в корпусе центроискателя? С соосностью оси и корпуса проблем не возникало?
И еще вопрос. От какого подшипника шарики? Чтобы не громить лишнего :))
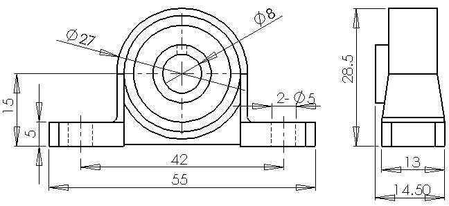
Да, ось старая фреза 3.175. Сверлил 3.1мм, ось намазал эпоксидкой и с натягом вдавил тисками. Если шпиндель перпендикулярен столу при сверлении, то соосность будет нормальной. Шарики можно взять из таких подшипников с валом d 8мм.
Вложения
Подшипник KFL08.jpg (4040 просмотров) <a class='original' href='./download/file.php?id=136975&mode=view' target=_blank>Загрузить оригинал (54.94 КБ)</a>
KP08.jpg (4039 просмотров) <a class='original' href='./download/file.php?id=136976&mode=view' target=_blank>Загрузить оригинал (26.03 КБ)</a>
trikot
Опытный
Сообщения: 165
Зарегистрирован: 08 апр 2017, 22:27
Репутация: 25
Настоящее имя: Ян
Откуда: Москва
Контактная информация:

Re: Самодельный центроискатель

Сообщение trikot »

Спасибо! Над осью еще подумаю, может сделаю хотя бы на пару миллиметров побольше "мяса" под ось. А подшипники такие есть, заказал, не пригодились.
trikot
Опытный
Сообщения: 165
Зарегистрирован: 08 апр 2017, 22:27
Репутация: 25
Настоящее имя: Ян
Откуда: Москва
Контактная информация:

Re: Самодельный центроискатель

Сообщение trikot »

Файл сверловки сверлом Ф2 для детали №4 сверлит отверстия на глубину 8мм, при толщине детали 10мм. Они вроде как сквозные. Это ошибка, или так и задумано для чего-то? Не проблема конечно исправить последнее значение 8 на нужное, тем более не думаю что в конце обязательно подавать по десятке. Просто интересно где собака порылась?
Аватара пользователя
xvovanx
Мастер
Сообщения: 3775
Зарегистрирован: 25 фев 2016, 12:27
Репутация: 920
Настоящее имя: Владимир
Откуда: Latvia
Контактная информация:

Re: Самодельный центроискатель

Сообщение xvovanx »

trikot писал(а):Файл сверловки сверлом Ф2 для детали №4 сверлит отверстия на глубину 8мм, при толщине детали 10мм
Нет не ошибка. Глухие отверстия под винты с резьбой, чтоб "мяса" в алюминии больше было.

P.S. сорри за молчание, давно не заходил в эту тему
trikot
Опытный
Сообщения: 165
Зарегистрирован: 08 апр 2017, 22:27
Репутация: 25
Настоящее имя: Ян
Откуда: Москва
Контактная информация:

Re: Самодельный центроискатель

Сообщение trikot »

Это не страшно, зато я свой датчик сделал :)
Аватара пользователя
xvovanx
Мастер
Сообщения: 3775
Зарегистрирован: 25 фев 2016, 12:27
Репутация: 920
Настоящее имя: Владимир
Откуда: Latvia
Контактная информация:

Re: Самодельный центроискатель

Сообщение xvovanx »

trikot писал(а):Это не страшно, зато я свой датчик сделал :)
Дико полезная вещь. Не раз выручал. То раз усб завис, то обработать с другой стороны детали - привязался к отверстию или граням и порядок.
trikot
Опытный
Сообщения: 165
Зарегистрирован: 08 апр 2017, 22:27
Репутация: 25
Настоящее имя: Ян
Откуда: Москва
Контактная информация:

Re: Самодельный центроискатель

Сообщение trikot »

Самому не терпится попробовать. Сегодня постараюсь переделать платку сопряжения и буду пробовать.
Кстати, появилась идейка сделать датчик на пьезоэлементе, вместо шариков. Пока обмозговываю, надо экспериментик провести на эту тему.
trikot
Опытный
Сообщения: 165
Зарегистрирован: 08 апр 2017, 22:27
Репутация: 25
Настоящее имя: Ян
Откуда: Москва
Контактная информация:

Re: Самодельный центроискатель

Сообщение trikot »

Запустил наконец свой датчик. Все работает замечательно. Буду разводить плату во внутрь корпуса.
На изначально собранном датчике было биение 2 десятки, что считаю очень даже неплохим результатом. Отрегулировал, теперь 1-2 сотки, мне вполне достаточно.

https://www.youtube.com/watch?v=vo_Q5BAalXo
Аватара пользователя
xvovanx
Мастер
Сообщения: 3775
Зарегистрирован: 25 фев 2016, 12:27
Репутация: 920
Настоящее имя: Владимир
Откуда: Latvia
Контактная информация:

Re: Самодельный центроискатель

Сообщение xvovanx »

trikot писал(а):Кстати, появилась идейка сделать датчик на пьезоэлементе, вместо шариков. Пока обмозговываю, надо экспериментик провести на эту тему.
У меня тут идейка сделать беспроводный на ИК. Обмозговываю идейку на smd маленьком 8 ногом контроллере замутить, вместе с таблеткой-батарейкой (одной/двумя) вовнутрь запихать над хабом, а прижимную пружинку можно и для контакта батарейки использовать, по кругу ИК диоды. В контроллере и аналоговый вход можно использовать для проверки батарейки и кодировку от помех программно сделать, в режиме сна потребление наноАмперы. Размеры конечно чуть вырастут.
Как доделаю поворотку, начну потихоньку колдовать беспроводной датчик, а то провод цепляется всюду.
trikot
Опытный
Сообщения: 165
Зарегистрирован: 08 апр 2017, 22:27
Репутация: 25
Настоящее имя: Ян
Откуда: Москва
Контактная информация:

Re: Самодельный центроискатель

Сообщение trikot »

То есть ИК канал сделать? Думаю для хобби это вполне себе идея. Батарейки и одной хватит. От помех думаю достаточно просто избавиться, выдавать скажем серию из 3-х коротких импульсов.
Какой контроллер на примете?
Ответить

Вернуться в «Электроника»