USB Motion Card STB4100
-
Сергей-урал
- Новичок
- Сообщения: 20
- Зарегистрирован: 02 фев 2017, 06:47
- Репутация: 3
- Настоящее имя: Сергей Владимирович
- Контактная информация:
Re: USB Motion Card STB4100
Причина сыр-бора мне не понятна. Вариант работающий описан, о чем копья ломать? Я нашел Вариант устраивающий меня, мне пытаются доказать причем на пальцах, что это не правильно/не работает. Кто желает может проверить/использовать если нужно. Ветка ведь не по теме теории электроники, а по станкам. Еще раз всем спасибо.
- Rom327
- Почётный участник

- Сообщения: 2989
- Зарегистрирован: 03 апр 2015, 13:23
- Репутация: 437
- Настоящее имя: Роман
- Откуда: Подольск
- Контактная информация:
Re: USB Motion Card STB4100
Как разберешься, отпишись! Будет интересно, я думаю...Сергей-урал писал(а):Всем спасибо. Теперь буду разбираться с MPG.
Это сугубо мое мнение, могу и ошибаться...
https://vk.com/rom327
GRBL настройки: http://blogandbux.blogspot.com/2018/07/ ... revod.html
G коды: http://3d-stanki.ru/spravochnik/program ... stankov-2/
https://vk.com/rom327
GRBL настройки: http://blogandbux.blogspot.com/2018/07/ ... revod.html
G коды: http://3d-stanki.ru/spravochnik/program ... stankov-2/
-
Сергей-урал
- Новичок
- Сообщения: 20
- Зарегистрирован: 02 фев 2017, 06:47
- Репутация: 3
- Настоящее имя: Сергей Владимирович
- Контактная информация:
Re: USB Motion Card STB4100
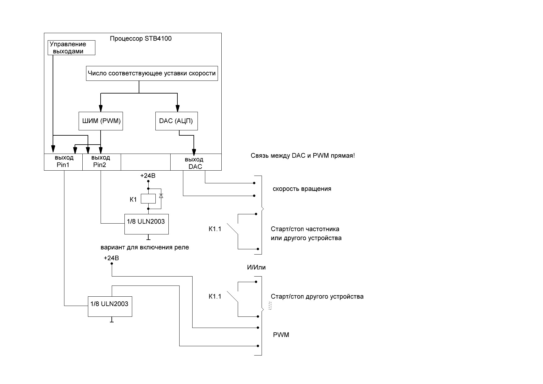
Вся полученная информация выложена. Разбираться с теми вопросами, что были дальше некуда. По MPG при его самостоятельном изготовлении, если кому нужно. Энкодер должен быть +5В и с выходами открытый коллектор (таких очень мало) используем из него только два сигнала A,B. Заморачиваться можно если есть холявный энкодер, - штука очень дорогая (от 8000р) и требующая грамотного отношения. Схема пульта прикреплена. А так дешевле купить готовый пульт за 3400р.
Последний раз редактировалось Сергей-урал 07 фев 2017, 07:30, всего редактировалось 1 раз.
-
Сергей-урал
- Новичок
- Сообщения: 20
- Зарегистрирован: 02 фев 2017, 06:47
- Репутация: 3
- Настоящее имя: Сергей Владимирович
- Контактная информация:
Re: USB Motion Card STB4100
Схема пульта. Кабель экранированный, экран подключен только к Gnd платы.
- Rom327
- Почётный участник

- Сообщения: 2989
- Зарегистрирован: 03 апр 2015, 13:23
- Репутация: 437
- Настоящее имя: Роман
- Откуда: Подольск
- Контактная информация:
Re: USB Motion Card STB4100
Вот недорогой энкодер да еще и с ручкой!Сергей-урал писал(а):Вся полученная информация выложена. Разбираться с теми вопросами, что были дальше некуда. По MPG при его самостоятельном изготовлении, если кому нужно. Энкодер должен быть +5В и с выходами открытый коллектор (таких очень мало) используем из него только два сигнала A,B. Заморачиваться можно если есть холявный энкодер, - штука очень дорогая (от 8000р) и требующая грамотного отношения. Схема пульта прикреплена. А так дешевле купить готовый пульт за 3400р.
https://ru.aliexpress.com/item/Hand-whe ... 0.0.HbmEch
Это сугубо мое мнение, могу и ошибаться...
https://vk.com/rom327
GRBL настройки: http://blogandbux.blogspot.com/2018/07/ ... revod.html
G коды: http://3d-stanki.ru/spravochnik/program ... stankov-2/
https://vk.com/rom327
GRBL настройки: http://blogandbux.blogspot.com/2018/07/ ... revod.html
G коды: http://3d-stanki.ru/spravochnik/program ... stankov-2/
-
Лёха
- Новичок
- Сообщения: 11
- Зарегистрирован: 17 фев 2017, 00:11
- Репутация: 0
- Настоящее имя: Лёха
- Контактная информация:
Re: USB Motion Card STB4100
Приветствую форумчан!
Я тоже обладатель этой платы.
Подскажите ответы на вопросы:
1 для чего реле обведённое зелёным?
2 как правильно подключить частотник HY01D523B чтобы работал с mach3?
3 Можно ли запитать плату от блока питания системника +12вольт?
4 Как mach3 понимает из приведённой схемы в каком Home находится если они подключены как на схеме?
5 Можно ли в программе присвоить home дачикам значения Lim- или Lim+? Чтобы не ставить на санок дополнительные микрики.
Я тоже обладатель этой платы.
Подскажите ответы на вопросы:
1 для чего реле обведённое зелёным?
2 как правильно подключить частотник HY01D523B чтобы работал с mach3?
3 Можно ли запитать плату от блока питания системника +12вольт?
4 Как mach3 понимает из приведённой схемы в каком Home находится если они подключены как на схеме?
5 Можно ли в программе присвоить home дачикам значения Lim- или Lim+? Чтобы не ставить на санок дополнительные микрики.
-
Erch_84
- Кандидат
- Сообщения: 88
- Зарегистрирован: 03 дек 2015, 13:03
- Репутация: 1
- Настоящее имя: Сергей
- Контактная информация:
Re: USB Motion Card STB4100
Верхний круг, это подключение внешнего реле выход с Q2 включение например вытяжки или водяной помпы у меня установлено твердотельное реле без диода включает аспирацию , маленький круг, это управление частотником, Q1 это выход с реле на плате он его включает, остальные два контакта это управление оборотами от 0 до 10 вольт, последнее блок питания от 0 до 24 В у меня стоит компьютерный 12 В и все работает плата работоспособная но со своими глюками.
- Rom327
- Почётный участник

- Сообщения: 2989
- Зарегистрирован: 03 апр 2015, 13:23
- Репутация: 437
- Настоящее имя: Роман
- Откуда: Подольск
- Контактная информация:
Re: USB Motion Card STB4100
Запитать можно и от +7 вольт, главное , если будет использоваться регулировка частотой вращения шпинделя (0-10В), то питание платы (минимальное) должно быть 10В+1,25В, то есть около +12 вольт. Проверял опытным путемЛёха писал(а):Приветствую форумчан!
Я тоже обладатель этой платы.
Подскажите ответы на вопросы:
3 Можно ли запитать плату от блока питания системника +12вольт?
Это сугубо мое мнение, могу и ошибаться...
https://vk.com/rom327
GRBL настройки: http://blogandbux.blogspot.com/2018/07/ ... revod.html
G коды: http://3d-stanki.ru/spravochnik/program ... stankov-2/
https://vk.com/rom327
GRBL настройки: http://blogandbux.blogspot.com/2018/07/ ... revod.html
G коды: http://3d-stanki.ru/spravochnik/program ... stankov-2/
- Rom327
- Почётный участник

- Сообщения: 2989
- Зарегистрирован: 03 апр 2015, 13:23
- Репутация: 437
- Настоящее имя: Роман
- Откуда: Подольск
- Контактная информация:
Re: USB Motion Card STB4100
Фотка не четкая... есть pdf-ка на часточник, или схема?Лёха писал(а):К каким контактам подключать на частотнике?
Вот нашел в инете , может твоя? Включение шпинделя S1-Gnd, регулировка оборотов VI-Gnd.
Это сугубо мое мнение, могу и ошибаться...
https://vk.com/rom327
GRBL настройки: http://blogandbux.blogspot.com/2018/07/ ... revod.html
G коды: http://3d-stanki.ru/spravochnik/program ... stankov-2/
https://vk.com/rom327
GRBL настройки: http://blogandbux.blogspot.com/2018/07/ ... revod.html
G коды: http://3d-stanki.ru/spravochnik/program ... stankov-2/
-
Erch_84
- Кандидат
- Сообщения: 88
- Зарегистрирован: 03 дек 2015, 13:03
- Репутация: 1
- Настоящее имя: Сергей
- Контактная информация:
Re: USB Motion Card STB4100
http://vs-cnc.com.ua/%D0%9D%D0%B0%D1%81 ... %D1%8F.htmЛёха писал(а):К каким контактам подключать на частотнике?
тут еще посмотри.
-
Лёха
- Новичок
- Сообщения: 11
- Зарегистрирован: 17 фев 2017, 00:11
- Репутация: 0
- Настоящее имя: Лёха
- Контактная информация:
Re: USB Motion Card STB4100
Спасибо большое за ответы. Но я пока ещё всё таки не разобрался. Сейчас выложу фото из моей инструкции к частотнику.
Схема от платы и схема от частоника имеют разные обозначения контактов.
Схема от платы и схема от частоника имеют разные обозначения контактов.
-
Erch_84
- Кандидат
- Сообщения: 88
- Зарегистрирован: 03 дек 2015, 13:03
- Репутация: 1
- Настоящее имя: Сергей
- Контактная информация:
Re: USB Motion Card STB4100
У тебя на плате обозначение контактов COM и DAC на частотнике DCM и FOR на твоем рисунке GND и AVI, DCM 3 слева FOR 9 слева, соединяй COM-DCM DAC-FOR. Или если я не прав пусть меня кто нибудь поправит.Лёха писал(а):Спасибо большое за ответы. Но я пока ещё всё таки не разобрался. Сейчас выложу фото из моей инструкции к частотнику.
Схема от платы и схема от частоника имеют разные обозначения контактов.
-
Лёха
- Новичок
- Сообщения: 11
- Зарегистрирован: 17 фев 2017, 00:11
- Репутация: 0
- Настоящее имя: Лёха
- Контактная информация:
Re: USB Motion Card STB4100
А третий провод? Q1 на плате идёт на старт стоп частотника. Непойму что это за контакт на частотнике.
-
Лёха
- Новичок
- Сообщения: 11
- Зарегистрирован: 17 фев 2017, 00:11
- Репутация: 0
- Настоящее имя: Лёха
- Контактная информация:
Re: USB Motion Card STB4100
Всем привет! Ну первый запуск состоялся. Частотник пока не подключал, пока тест на правильность подключения движков.
Вопрос:
Нашёл G код файлик в самой программе мач3. Запустил, как правильно станок ездит по осям оценить не могу. На экране то показывает что и как он типа фрезерует, но достоверно проверить не могу.
С клавиатуры стрелками и PU PD управлять не получается, может в настройках чтото нужно исправить?
Пульта у меня нет. На пульт вызываемый ткопкой tab станок не реагирует. Ребят, где копать?
Вопрос:
Нашёл G код файлик в самой программе мач3. Запустил, как правильно станок ездит по осям оценить не могу. На экране то показывает что и как он типа фрезерует, но достоверно проверить не могу.
С клавиатуры стрелками и PU PD управлять не получается, может в настройках чтото нужно исправить?
Пульта у меня нет. На пульт вызываемый ткопкой tab станок не реагирует. Ребят, где копать?
- Rom327
- Почётный участник

- Сообщения: 2989
- Зарегистрирован: 03 апр 2015, 13:23
- Репутация: 437
- Настоящее имя: Роман
- Откуда: Подольск
- Контактная информация:
Re: USB Motion Card STB4100
Попробуй так:Лёха писал(а):А третий провод? Q1 на плате идёт на старт стоп частотника. Непойму что это за контакт на частотнике.
Это сугубо мое мнение, могу и ошибаться...
https://vk.com/rom327
GRBL настройки: http://blogandbux.blogspot.com/2018/07/ ... revod.html
G коды: http://3d-stanki.ru/spravochnik/program ... stankov-2/
https://vk.com/rom327
GRBL настройки: http://blogandbux.blogspot.com/2018/07/ ... revod.html
G коды: http://3d-stanki.ru/spravochnik/program ... stankov-2/
-
Лёха
- Новичок
- Сообщения: 11
- Зарегистрирован: 17 фев 2017, 00:11
- Репутация: 0
- Настоящее имя: Лёха
- Контактная информация:
Re: USB Motion Card STB4100
Обязательно попробую как доберусь. Rom327 Спасибо большое!Rom327 писал(а): Попробуй так:
Разобрался с клавиатурой, всё работает. Скачал мануал, начал читать.
Правильно ли реагирует на нажатие клавиш? Портал ко мне лицом.
-x влево
+x вправо
-Y на мне
+y от меня
-Z вверх
+z вниз
- Rom327
- Почётный участник

- Сообщения: 2989
- Зарегистрирован: 03 апр 2015, 13:23
- Репутация: 437
- Настоящее имя: Роман
- Откуда: Подольск
- Контактная информация:
Re: USB Motion Card STB4100
Z- Вниз,Лёха писал(а):Правильно ли реагирует на нажатие клавиш? Портал ко мне лицом.
-x влево
+x вправо
-Y на мне
+y от меня
-Z вверх
+z вниз
Z+ Вверх
Надо инвертировать Z Правило "правой руки"
Это сугубо мое мнение, могу и ошибаться...
https://vk.com/rom327
GRBL настройки: http://blogandbux.blogspot.com/2018/07/ ... revod.html
G коды: http://3d-stanki.ru/spravochnik/program ... stankov-2/
https://vk.com/rom327
GRBL настройки: http://blogandbux.blogspot.com/2018/07/ ... revod.html
G коды: http://3d-stanki.ru/spravochnik/program ... stankov-2/
-
Лёха
- Новичок
- Сообщения: 11
- Зарегистрирован: 17 фев 2017, 00:11
- Репутация: 0
- Настоящее имя: Лёха
- Контактная информация:
Re: USB Motion Card STB4100
Спасибо!Rom327 писал(а): Надо инвертировать Z Правило "правой руки"
К стати по У тоже было не правильно у меня. Инвертировал и У и Z. Распаивал разъёмы по цветам проводов, ошибки не было, уверен на 95%
Значит провода с двигателей изначально не везде одинаковы были.
"Rom327" частоник так и не запустился с mach3. Подключал 2 вариантами с предложенной схемы.
Чёрная сплошная либо пунктирная. Перемычку побоялся ставить.
В программе какими кнопками пользоваться? Может не туда жму?
-
Лёха
- Новичок
- Сообщения: 11
- Зарегистрирован: 17 фев 2017, 00:11
- Репутация: 0
- Настоящее имя: Лёха
- Контактная информация:
Re: USB Motion Card STB4100
Ещё и настройку частоника нужно подкорректировать и джампер переставить как оказывается.