ВСО из полимербетона
-
nik1
- Мастер
- Сообщения: 8408
- Зарегистрирован: 02 окт 2012, 07:37
- Репутация: 3629
- Откуда: Красногорск
- Контактная информация:
Re: ВСО из полимербетона
давай фотки хотя бы 
-
aftaev
- Зачётный участник

- Сообщения: 34042
- Зарегистрирован: 04 апр 2010, 19:22
- Репутация: 6194
- Откуда: Казахстан.
- Контактная информация:
Re: ВСО из полимербетона
Выбирайsr480 писал(а):Расскажите как плоскость без линейки измерить?
https://www.google.kz/search?q=%D0%B8%D ... 1&tbm=isch
Автоколлиматор https://www.google.kz/search?q=%D0%B0%D ... CAcQ_AUoAQ
Интерферометр https://www.google.kz/search?q=%D0%B8%D ... =742&dpr=1
ну или https://www.google.kz/search?q=%D0%B8%D ... C&tbm=isch + пару роликов точных и катать
Дилетанту сложные вещи кажутся очень простыми, и только профессионал понимает насколько сложна самая простая вещь
Кто хочет - ищет возможности, кто не хочет - ищет оправдание.
Найди работу по душе и тебе не придется работать.
Кто хочет - ищет возможности, кто не хочет - ищет оправдание.
Найди работу по душе и тебе не придется работать.
Re: ВСО из полимербетона
К списку можно добавить координатно - измерительную машину, лазерный 3D трассер (в другом названии трекер), измерительный электронный манипулятор, комплект электронных уровней с секундным разрешением, и много-много грошей, что бы купить что-нибудь из этого списка, пожалуй за исключением плиты. Кстати для интерферометра комплект угло и плоскостемерной оптики стоит ещё половину интерферометра.
-
aftaev
- Зачётный участник

- Сообщения: 34042
- Зарегистрирован: 04 апр 2010, 19:22
- Репутация: 6194
- Откуда: Казахстан.
- Контактная информация:
Re: ВСО из полимербетона
dpss, кстати как это по английски называется что ты написал (лазерный 3D трассер, комплект электронных уровней с секундным разрешением, интерферометр, автокалиматор) ? Пробовал на евау найти не знаю как называется
Дилетанту сложные вещи кажутся очень простыми, и только профессионал понимает насколько сложна самая простая вещь
Кто хочет - ищет возможности, кто не хочет - ищет оправдание.
Найди работу по душе и тебе не придется работать.
Кто хочет - ищет возможности, кто не хочет - ищет оправдание.
Найди работу по душе и тебе не придется работать.
Re: ВСО из полимербетона
Да так и называются. Как слышится, так и пишется
interferometer, electronic level meter, autocollimator, laser tracer. Там этого добра много, но ситуация примерно как с технологическими лазерами, о чем я раньше писал. Без хорошего знания предмета покупки наверняка привезешь нерабочий, некомплектный старый хлам.
- sr480
- Мастер
- Сообщения: 1295
- Зарегистрирован: 08 янв 2012, 20:48
- Репутация: 139
- Откуда: Ростов-на-Дону
- Контактная информация:
Re: ВСО из полимербетона
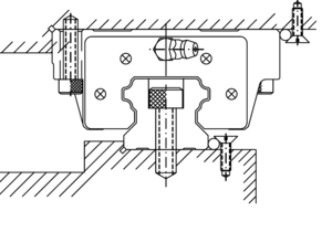
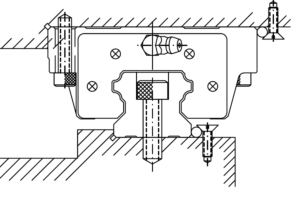
Это стол. Донес только до гаража ибо тяжелый (80 кг не меньше)
С обратной стороны вроде даже есть куча отверстий для крепления рельс (сам не видел
).
Мастер рельс прижимается к штифтам, которые предварительно шлифуются по линейке, а потом поджимается как на рисунке: А потом второй рельс выставляется по индикатору относительно первой.
Это переходная плита (или фланец), которая соединяет оси Х и У. Прижимные планки стоят только на одной паре кареток, что со стороны мастер рельса. База под каретки шлифованная за один проход и установ. Вторые пары кареток имеют широкий паз +5 десяток, чтоб каретки можно было их свободно двигать и потом притягивать уже одев на рельсы.
Плита с обратной стороны и паз под винт - тут же отверстия под крепление гайки.
Ну и плоскость по световой щели
Мастер рельс прижимается к штифтам, которые предварительно шлифуются по линейке, а потом поджимается как на рисунке: А потом второй рельс выставляется по индикатору относительно первой.
Это переходная плита (или фланец), которая соединяет оси Х и У. Прижимные планки стоят только на одной паре кареток, что со стороны мастер рельса. База под каретки шлифованная за один проход и установ. Вторые пары кареток имеют широкий паз +5 десяток, чтоб каретки можно было их свободно двигать и потом притягивать уже одев на рельсы.
Плита с обратной стороны и паз под винт - тут же отверстия под крепление гайки.
Ну и плоскость по световой щели
- sr480
- Мастер
- Сообщения: 1295
- Зарегистрирован: 08 янв 2012, 20:48
- Репутация: 139
- Откуда: Ростов-на-Дону
- Контактная информация:
Re: ВСО из полимербетона
Уровень есть 0.02 на метр. А ролики из подшипников сделать???
-
nik1
- Мастер
- Сообщения: 8408
- Зарегистрирован: 02 окт 2012, 07:37
- Репутация: 3629
- Откуда: Красногорск
- Контактная информация:
Re: ВСО из полимербетона
Зачетные железки 
-
aftaev
- Зачётный участник

- Сообщения: 34042
- Зарегистрирован: 04 апр 2010, 19:22
- Репутация: 6194
- Откуда: Казахстан.
- Контактная информация:
Re: ВСО из полимербетона
С новых подшипов сделай. Но плиту придется точно выставить по уровню.sr480 писал(а):Уровень есть 0.02 на метр. А ролики из подшипников сделать???
Какие блястящие железки
Дилетанту сложные вещи кажутся очень простыми, и только профессионал понимает насколько сложна самая простая вещь
Кто хочет - ищет возможности, кто не хочет - ищет оправдание.
Найди работу по душе и тебе не придется работать.
Кто хочет - ищет возможности, кто не хочет - ищет оправдание.
Найди работу по душе и тебе не придется работать.
- sr480
- Мастер
- Сообщения: 1295
- Зарегистрирован: 08 янв 2012, 20:48
- Репутация: 139
- Откуда: Ростов-на-Дону
- Контактная информация:
Re: ВСО из полимербетона
Ну вроде все работает, что задумывалось. Правда немного больше размером чем я представлял 
-
nik1
- Мастер
- Сообщения: 8408
- Зарегистрирован: 02 окт 2012, 07:37
- Репутация: 3629
- Откуда: Красногорск
- Контактная информация:
Re: ВСО из полимербетона
Теперь сборка попрет полным ходом?
- sr480
- Мастер
- Сообщения: 1295
- Зарегистрирован: 08 янв 2012, 20:48
- Репутация: 139
- Откуда: Ростов-на-Дону
- Контактная информация:
Re: ВСО из полимербетона
Нет. Рельсы не приехали еще. Формы для литья не готовы. Я в воскресенье уезжаю на 10 дней. Еще нужно изготовить кучу всего вроде опор винта, фланцев моторов, креплений гаек, но это уже все сам буду делать.
-
nik1
- Мастер
- Сообщения: 8408
- Зарегистрирован: 02 окт 2012, 07:37
- Репутация: 3629
- Откуда: Красногорск
- Контактная информация:
Re: ВСО из полимербетона
Ясна, работы еще прилично
- sr480
- Мастер
- Сообщения: 1295
- Зарегистрирован: 08 янв 2012, 20:48
- Репутация: 139
- Откуда: Ростов-на-Дону
- Контактная информация:
Re: ВСО из полимербетона
Если в телескоп поставить такую щетку:
Это щетка на двери в шкафах купе клеится.
-
nik1
- Мастер
- Сообщения: 8408
- Зарегистрирован: 02 окт 2012, 07:37
- Репутация: 3629
- Откуда: Красногорск
- Контактная информация:
Re: ВСО из полимербетона
Может всеже добавить еще скребки из материала типа плотной резины, а то имха этот уплотнитель долго не протянет
- sr480
- Мастер
- Сообщения: 1295
- Зарегистрирован: 08 янв 2012, 20:48
- Репутация: 139
- Откуда: Ростов-на-Дону
- Контактная информация:
Re: ВСО из полимербетона
Ну еще можно добавить уплотнительную резину как на двери и окна клеят.
- Nick
- Мастер
- Сообщения: 22776
- Зарегистрирован: 23 ноя 2009, 16:45
- Репутация: 1735
- Заслуга: Developer
- Откуда: Gatchina, Saint-Petersburg distr., Russia
- Контактная информация:
Re: ВСО из полимербетона
Имхо лучше взять резинку от дворника...
-
aftaev
- Зачётный участник

- Сообщения: 34042
- Зарегистрирован: 04 апр 2010, 19:22
- Репутация: 6194
- Откуда: Казахстан.
- Контактная информация:
Re: ВСО из полимербетона
читаешь мои мыслиNick писал(а):Имхо лучше взять резинку от дворника...
Дилетанту сложные вещи кажутся очень простыми, и только профессионал понимает насколько сложна самая простая вещь
Кто хочет - ищет возможности, кто не хочет - ищет оправдание.
Найди работу по душе и тебе не придется работать.
Кто хочет - ищет возможности, кто не хочет - ищет оправдание.
Найди работу по душе и тебе не придется работать.
- sr480
- Мастер
- Сообщения: 1295
- Зарегистрирован: 08 янв 2012, 20:48
- Репутация: 139
- Откуда: Ростов-на-Дону
- Контактная информация:
Re: ВСО из полимербетона
Только она будет подворачиваться. Её бы укоротить.
-
nik1
- Мастер
- Сообщения: 8408
- Зарегистрирован: 02 окт 2012, 07:37
- Репутация: 3629
- Откуда: Красногорск
- Контактная информация:
Re: ВСО из полимербетона
А может под нее сделать типа держалки с пазом?
Что бы резинка торчала немного из крепехи
Что бы резинка торчала немного из крепехи
