Вращающееся соединение для подачи СОЖ через шпиндель.
-
Руслан_cnc
- Мастер
- Сообщения: 203
- Зарегистрирован: 12 фев 2012, 18:32
- Репутация: 33
- Контактная информация:
Вращающееся соединение для подачи СОЖ через шпиндель.
Добрый день. Кто-нибудь знает как устроена вращающаяся муфта через которую подаётся СОЖ через центр шпинделя? Вот ссылка на такую муфту(синего цвета) https://aliexpress.ru/item/100500360433 ... 8699419903
Знаю что на Хаасах в муфтах керамические детали, которые сделаны с высокой точностью, отсюда и высокая цена на них. А в китайской такая же система или что-то другое? Если не ошибаюсь то в Хаасе есть только вход и выход СОЖ через муфту, а в китайской ещё наверное воздух подаётся для создания затвора. Может у кого какие мысли имеются по изготовлению такого переходника в домашних условиях?
Знаю что на Хаасах в муфтах керамические детали, которые сделаны с высокой точностью, отсюда и высокая цена на них. А в китайской такая же система или что-то другое? Если не ошибаюсь то в Хаасе есть только вход и выход СОЖ через муфту, а в китайской ещё наверное воздух подаётся для создания затвора. Может у кого какие мысли имеются по изготовлению такого переходника в домашних условиях?
-
Руслан_cnc
- Мастер
- Сообщения: 203
- Зарегистрирован: 12 фев 2012, 18:32
- Репутация: 33
- Контактная информация:
Re: Вращающееся соединение для подачи СОЖ через шпиндель.
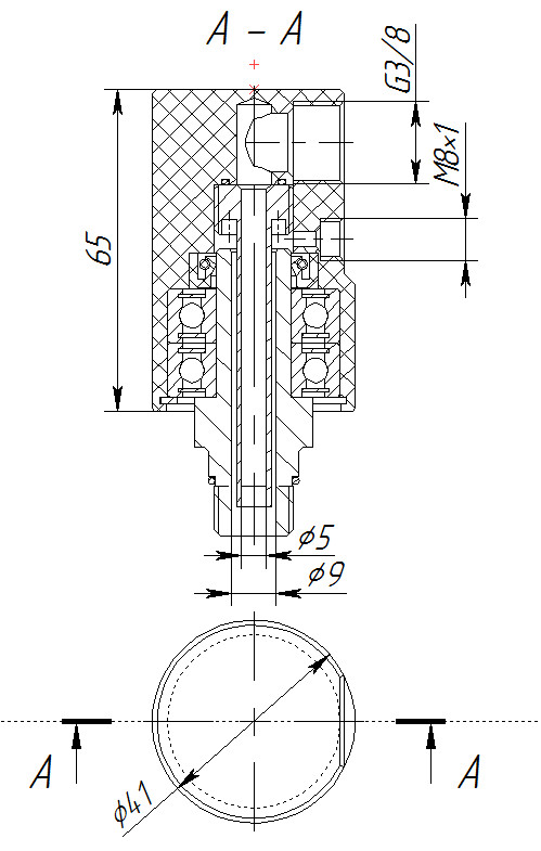
Набросал модельку вращающейся муфты, после установки шпинделя можно будет попробовать, будет оно работать или нет. Принцип такой: вращающаяся муфта имеет дополнительно вход воздуха, перед включением насоса сож за 1-2 секунды включается клапан подачи воздуха в муфту. Давление воздушного затвора регулируется так, чтобы давление воздуха удерживало сож от попадания в зазор между вращающимся валом и неподвижной трубкой. Когда во время обработки(или при смене инструмента для продувки конуса) требуется подача только воздуха, то включается ещё один пневмоклапан, находящийся в цепи другого редуктора, настроенного на другое давление. Теоритически должно работать, но как будет себя вести при колебаниях давления сож на выходе инструмента, покажут опыты.
- Вложения
-
- _сборка rotary joint.rar
- (60.98 КБ) 175 скачиваний
- mikehv
- Мастер
- Сообщения: 2115
- Зарегистрирован: 14 авг 2013, 10:10
- Репутация: 1175
- Откуда: Иваново
- Контактная информация:
Re: Вращающееся соединение для подачи СОЖ через шпиндель.
Сальник там не проживёт долго. Я на своём оц разбирал, так там уплотнения как такового нет. Просто две шайбы из твердосплава, пришлифованные. И слив есть для просочившейся жижи. Подшипники радиально упорные, натяг пружиной. Сами шайбы вроде как тоже подпружиненные. Не помню точно
-
MGG
- Мастер
- Сообщения: 3673
- Зарегистрирован: 08 фев 2016, 16:33
- Репутация: 1010
- Настоящее имя: Манн Геннадий Геннадьевич
- Откуда: Москва
- Контактная информация:
Re: Вращающееся соединение для подачи СОЖ через шпиндель.
у меня карбоновые уплотнения стояли.
http://www.cnc-club.ru/forum/viewtopic. ... 76#p304076 Поставки оборудования для ваших станков
https://www.instagram.com/dtw.moscow/
dtw.moscow@gmail.com
https://www.instagram.com/dtw.moscow/
dtw.moscow@gmail.com
- Rom327
- Почётный участник

- Сообщения: 2989
- Зарегистрирован: 03 апр 2015, 13:23
- Репутация: 437
- Настоящее имя: Роман
- Откуда: Подольск
- Контактная информация:
Re: Вращающееся соединение для подачи СОЖ через шпиндель.
Нужен сальник с торцевым прижимом. Такие используются в водяных насосах
https://www.ozon.ru/product/salnik-pruz ... %25D0%25B0
https://www.ozon.ru/product/salnik-pruz ... %25D0%25B0
Это сугубо мое мнение, могу и ошибаться...
https://vk.com/rom327
GRBL настройки: http://blogandbux.blogspot.com/2018/07/ ... revod.html
G коды: http://3d-stanki.ru/spravochnik/program ... stankov-2/
https://vk.com/rom327
GRBL настройки: http://blogandbux.blogspot.com/2018/07/ ... revod.html
G коды: http://3d-stanki.ru/spravochnik/program ... stankov-2/
-
Руслан_cnc
- Мастер
- Сообщения: 203
- Зарегистрирован: 12 фев 2012, 18:32
- Репутация: 33
- Контактная информация:
Re: Вращающееся соединение для подачи СОЖ через шпиндель.
Про уплотнения твердосплавными шайбами в торцах я видел. В интернете много конструкций. Но в домашних условиях сделать сложновато. Вроде как в Хаасе керамические пластины стояли вместо твердосплавных. Они хрупкие, наши умельцы даже сломали по неосторожности. Это наверное старая конструкция, потом на твёрдый сплав перешли. Про жизнь сальника тоже понятно, что не долгая, но он в этой конструкции как подстраховка. Через полгода-год можно и заменить. Основное уплотнение избыточным давлением воздуха. Про подшипники, в конструкциях из инета, вроде как простые радиальные, без пружин, хотя может сдуплексированные. Вместо сальника наверное можно применить какое-то другое уплотнение, графит, фторопласт, войлок пропитанный водо-отталкивающей смазкой или что-то подобное. В моей конструкции очень нравится что можно подавать не только сож, но и воздух. Допустим в Хаасе можно только сож через шпиндель, а в Хермле и сож и вохдух, очень удобно и востребовано. Кстати в Хермле можно регулировать давление сож через стойку. В китайской конструкции, по ссылкам в первом сообщении, вроде тоже воздух подаётся, судя по трубке и фитингу, врядли это дренаж для просочившейся через уплотнения сож.
Посмотрел конструкцию торцевого сальника на озоне, там вроде как фторопласт в качестве трущейся части уплотнения или ошибаюсь? Может кто-нибудь знает где взять твердосплавные шайбы? Интересно можно ли лазером приварить твердосплав к стали. Вторая шайба просто сидит в отверстии и от проворота зафиксирована штифтами. Отверстия сделать можно на эрозии.
Посмотрел конструкцию торцевого сальника на озоне, там вроде как фторопласт в качестве трущейся части уплотнения или ошибаюсь? Может кто-нибудь знает где взять твердосплавные шайбы? Интересно можно ли лазером приварить твердосплав к стали. Вторая шайба просто сидит в отверстии и от проворота зафиксирована штифтами. Отверстия сделать можно на эрозии.
Последний раз редактировалось Руслан_cnc 01 дек 2022, 21:58, всего редактировалось 1 раз.
-
aftaev
- Зачётный участник

- Сообщения: 34042
- Зарегистрирован: 04 апр 2010, 19:22
- Репутация: 6194
- Откуда: Казахстан.
- Контактная информация:
Re: Вращающееся соединение для подачи СОЖ через шпиндель.
Сложно сделать твердосплавные шайбы? Взять пластины твердоссплавные и на эрозии порезатьРуслан_cnc писал(а): ↑ Про уплотнения твердосплавными шайбами в торцах я видел. В интернете много конструкций. Но в домашних условиях сделать сложновато.
На какое давление СОЖ?Руслан_cnc писал(а): ↑ Вместо сальника наверное можно применить какое-то другое уплотнение, графит, фторопласт, войлок пропитанный водо-отталкивающей смазкой или что-то подобное.
СОЖ это эмульсия воды и масло. Если сделать водо-отталкивающую смазку, то она будет маслопритягивающей (гидрофильной).
Дилетанту сложные вещи кажутся очень простыми, и только профессионал понимает насколько сложна самая простая вещь
Кто хочет - ищет возможности, кто не хочет - ищет оправдание.
Найди работу по душе и тебе не придется работать.
Кто хочет - ищет возможности, кто не хочет - ищет оправдание.
Найди работу по душе и тебе не придется работать.
-
Руслан_cnc
- Мастер
- Сообщения: 203
- Зарегистрирован: 12 фев 2012, 18:32
- Репутация: 33
- Контактная информация:
Re: Вращающееся соединение для подачи СОЖ через шпиндель.
Шайбы то можно сделать, взять хвостовик от твердосплавной фрезы диаметром 20мм, например и порезать эрозией, потом прожечь отверстия, приварить, прошлифовать, но как-то уже трудоёмко получается, может можно готовые шайбы где-то взять.
-
aftaev
- Зачётный участник

- Сообщения: 34042
- Зарегистрирован: 04 апр 2010, 19:22
- Репутация: 6194
- Откуда: Казахстан.
- Контактная информация:
Re: Вращающееся соединение для подачи СОЖ через шпиндель.
Руслан_cnc писал(а): ↑ может можно готовые шайбы где-то взять.
Дилетанту сложные вещи кажутся очень простыми, и только профессионал понимает насколько сложна самая простая вещь
Кто хочет - ищет возможности, кто не хочет - ищет оправдание.
Найди работу по душе и тебе не придется работать.
Кто хочет - ищет возможности, кто не хочет - ищет оправдание.
Найди работу по душе и тебе не придется работать.
-
Руслан_cnc
- Мастер
- Сообщения: 203
- Зарегистрирован: 12 фев 2012, 18:32
- Репутация: 33
- Контактная информация:
Re: Вращающееся соединение для подачи СОЖ через шпиндель.
Я думаю что китайцы вряд ли из-за пары-тройки шайб суетится будут. Надо что-то что попроще достать. Думаю что попробую по своей конструкции сделать, а потом и с твёрдым сплавом заморочусь, если косяки вылезут.
-
aftaev
- Зачётный участник

- Сообщения: 34042
- Зарегистрирован: 04 апр 2010, 19:22
- Репутация: 6194
- Откуда: Казахстан.
- Контактная информация:
Re: Вращающееся соединение для подачи СОЖ через шпиндель.
Китайцы изготавливают эти вращающееся соединение пачками
https://s.taobao.com/search?q=%E6%97%8B ... 02&ie=utf8
https://s.taobao.com/search?q=%E6%97%8B ... 02&ie=utf8
Дилетанту сложные вещи кажутся очень простыми, и только профессионал понимает насколько сложна самая простая вещь
Кто хочет - ищет возможности, кто не хочет - ищет оправдание.
Найди работу по душе и тебе не придется работать.
Кто хочет - ищет возможности, кто не хочет - ищет оправдание.
Найди работу по душе и тебе не придется работать.
-
Руслан_cnc
- Мастер
- Сообщения: 203
- Зарегистрирован: 12 фев 2012, 18:32
- Репутация: 33
- Контактная информация:
Re: Вращающееся соединение для подачи СОЖ через шпиндель.
Да их много кто выпускает пачками, только цена, я считаю, высоковатая для такой детали. Вот по ссылке выше получается примерно 260 долларов, за 400 долларов шпиндель BT30 можно купить. Вот шпиндель однозначно стоит своих денег, а вращающаяся муфта нет. На алике Rotoflux от 370 до 550$.
-
Евжений
- Мастер
- Сообщения: 1168
- Зарегистрирован: 05 апр 2016, 20:18
- Репутация: 136
- Настоящее имя: Жэзэрэл
- Откуда: Там, сям.
- Контактная информация:
Re: Вращающееся соединение для подачи СОЖ через шпиндель.
А инструмент? Может ну его? Может сбоку дешевле?Руслан_cnc писал(а): ↑ цена, я считаю, высоковатая для такой детали
ВК https://vk.com/id353124059
О Боже, дай мне .... пендель!
О Боже, дай мне .... пендель!
-
aftaev
- Зачётный участник

- Сообщения: 34042
- Зарегистрирован: 04 апр 2010, 19:22
- Репутация: 6194
- Откуда: Казахстан.
- Контактная информация:
Re: Вращающееся соединение для подачи СОЖ через шпиндель.
Ты наверно хотел сказать на картинке, там фирма. А вот если сходить по ссылке что выше картинки, там поиск.Руслан_cnc писал(а): ↑ Вот по ссылке выше получается примерно 260 долларов, за 400 долларов шпиндель BT30 можно купить.
Если чутка, совсем чутка поискать можно раза в 3-5 дешевше что то найти https://item.taobao.com/item.htm?id=369 ... 230r.1.0.0
Написано до 7000об, 40МПа, 280град.
Дилетанту сложные вещи кажутся очень простыми, и только профессионал понимает насколько сложна самая простая вещь
Кто хочет - ищет возможности, кто не хочет - ищет оправдание.
Найди работу по душе и тебе не придется работать.
Кто хочет - ищет возможности, кто не хочет - ищет оправдание.
Найди работу по душе и тебе не придется работать.
-
AAN
- Мастер
- Сообщения: 313
- Зарегистрирован: 14 апр 2015, 10:28
- Репутация: 39
- Настоящее имя: Антон
- Откуда: Томск
- Контактная информация:
Re: Вращающееся соединение для подачи СОЖ через шпиндель.
Из отслужившего кухонного смесителя керамические пластины.Руслан_cnc писал(а): ↑01 дек 2022, 22:02 Шайбы то можно сделать, взять хвостовик от твердосплавной фрезы диаметром 20мм, например и порезать эрозией, потом прожечь отверстия, приварить, прошлифовать, но как-то уже трудоёмко получается, может можно готовые шайбы где-то взять.
-
Руслан_cnc
- Мастер
- Сообщения: 203
- Зарегистрирован: 12 фев 2012, 18:32
- Репутация: 33
- Контактная информация:
Re: Вращающееся соединение для подачи СОЖ через шпиндель.
Ну во первых, при боковой подаче сож надо при сверлении выводить сверло из отверстия для выброса стружки, а при внутренней подаче этого не надо делать, что значительно сокращает не только время, но и стойкость инструмента. Во вторых, воздух через шпиндель тоже очень полезная функция. Например при фрезеровке глубоких карманов, чтобы в зоне резания стружку не подрывало и не било по стенке металла.Евжений писал(а): ↑01 дек 2022, 23:25А инструмент? Может ну его? Может сбоку дешевле?Руслан_cnc писал(а): ↑ цена, я считаю, высоковатая для такой детали
Что-то ссылка не открывается, наверное регистрация нужна, но уже интересней.aftaev писал(а): ↑02 дек 2022, 08:17Ты наверно хотел сказать на картинке, там фирма. А вот если сходить по ссылке что выше картинки, там поиск.Руслан_cnc писал(а): ↑ Вот по ссылке выше получается примерно 260 долларов, за 400 долларов шпиндель BT30 можно купить.
Если чутка, совсем чутка поискать можно раза в 3-5 дешевше что то найти https://item.taobao.com/item.htm?id=369 ... 230r.1.0.0
Написано до 7000об, 40МПа, 280град.
И как вы это себе представляете?AAN писал(а): ↑02 дек 2022, 09:16Из отслужившего кухонного смесителя керамические пластины.Руслан_cnc писал(а): ↑01 дек 2022, 22:02 Шайбы то можно сделать, взять хвостовик от твердосплавной фрезы диаметром 20мм, например и порезать эрозией, потом прожечь отверстия, приварить, прошлифовать, но как-то уже трудоёмко получается, может можно готовые шайбы где-то взять.
Эх, чтобы знать точно на сколько сальника хватает, можно и 2-3 муфты сделать и через полгода менять, а в отработанных менять сальник и снова в бой.
-
aftaev
- Зачётный участник

- Сообщения: 34042
- Зарегистрирован: 04 апр 2010, 19:22
- Репутация: 6194
- Откуда: Казахстан.
- Контактная информация:
Re: Вращающееся соединение для подачи СОЖ через шпиндель.
В моем понимании боковая подача СОЖ это так. А то когда льется СОЖ на инструмент через трубочку - это поливная система СОЖ. https://www.youtube.com/watch?v=TwzNLNrYQH4Руслан_cnc писал(а): ↑ Ну во первых, при боковой подаче сож надо при сверлении выводить сверло из отверстия для выброса стружки, а при внутренней подаче этого не надо делать, что значительно сокращает не только время, но и стойкость инструмента
Руслан_cnc писал(а): ↑ Что-то ссылка не открывается, наверное регистрация нужна, но уже интересней.
Дилетанту сложные вещи кажутся очень простыми, и только профессионал понимает насколько сложна самая простая вещь
Кто хочет - ищет возможности, кто не хочет - ищет оправдание.
Найди работу по душе и тебе не придется работать.
Кто хочет - ищет возможности, кто не хочет - ищет оправдание.
Найди работу по душе и тебе не придется работать.
-
AAN
- Мастер
- Сообщения: 313
- Зарегистрирован: 14 апр 2015, 10:28
- Репутация: 39
- Настоящее имя: Антон
- Откуда: Томск
- Контактная информация:
Re: Вращающееся соединение для подачи СОЖ через шпиндель.
Извлекаем керамические пластины - вклеиваем их в подвижный и неподвижный элемент уплотнения- испытываем на стенде водопроводной водой.Руслан_cnc писал(а): ↑ Из отслужившего кухонного смесителя керамические пластины.
И как вы это себе представляете?
Вернуться к началу
-
john1987887
- Мастер
- Сообщения: 3296
- Зарегистрирован: 08 сен 2013, 17:26
- Репутация: 1802
- Контактная информация:
Re: Вращающееся соединение для подачи СОЖ через шпиндель.
Интересная тема. По ссылке в первом сообщении эта муфта установлена на мои модели станков VMC 425 или VMC 420. Надо расспросить продавцов на предмет разреза муфты.
Brother TC - 229 http://www.cnc-club.ru/forum/viewtopic. ... 46&t=15250
Brother TC - 225 viewtopic.php?f=146&t=31044
7045 http://www.cnc-club.ru/forum/viewtopic.php?t=6965
токарный http://www.cnc-club.ru/forum/viewtopic. ... 48&t=14096
Brother TC - 225 viewtopic.php?f=146&t=31044
7045 http://www.cnc-club.ru/forum/viewtopic.php?t=6965
токарный http://www.cnc-club.ru/forum/viewtopic. ... 48&t=14096
-
john1987887
- Мастер
- Сообщения: 3296
- Зарегистрирован: 08 сен 2013, 17:26
- Репутация: 1802
- Контактная информация:
Re: Вращающееся соединение для подачи СОЖ через шпиндель.
Может имеет смысл заменить сальник на лабиринтное уплотнение и уже в него подавать подпор воздуха? Давление СОЖ все равно будет намного больше, чем подпор воздуха и она пойдет по трубке для воздуха и через подшипы. Вы какое давление хотите сделать? Там ведь надо чуть ли не 80-100 бар давать, особенно на длинный и тонкий инструмент.
Brother TC - 229 http://www.cnc-club.ru/forum/viewtopic. ... 46&t=15250
Brother TC - 225 viewtopic.php?f=146&t=31044
7045 http://www.cnc-club.ru/forum/viewtopic.php?t=6965
токарный http://www.cnc-club.ru/forum/viewtopic. ... 48&t=14096
Brother TC - 225 viewtopic.php?f=146&t=31044
7045 http://www.cnc-club.ru/forum/viewtopic.php?t=6965
токарный http://www.cnc-club.ru/forum/viewtopic. ... 48&t=14096