Манипулятор, выбор моторов
-
bartik226
- Новичок
- Сообщения: 16
- Зарегистрирован: 06 май 2016, 16:15
- Репутация: 0
- Настоящее имя: Кирилл
- Контактная информация:
Манипулятор, выбор моторов
Здравствуйте! Пришла идея сделать манипулятор (руку). Понимаю, что к станкам это не особо относиться, но я не как не могу определиться с моторами которые необходимо будет использовать в манипуляторе. На вашем форуме, я заметил что много кто в этом разбирается, поэтому пишу сюда.
Было решено делать манипулятор по-секционно, т.е. в каждой секции по собственному мотору. Драйвер планирую использовать - A4988,м микрошаговый режим зависит от наличия редуктора.
В данной конструкции предпочтение отдается прямой передачи момента с моторов на каждую следующую секцию, для достижения максимальной точности, однако не всегда это возможно, в таком случае предпочтение отдается минимальному количеству соединений. Ременная передача момента в данной конструкции не используется вообще.
(Прошу заметить что я не профессионал в данной области и могу где-то ошибаться, поэтому если кто-нибудь заметит - поправляйте меня, я все учту.) Спор в моей голове идет спор насчет того, какие же моторы использовать в манипуляторе сервоприводы или шаговые двигатели.
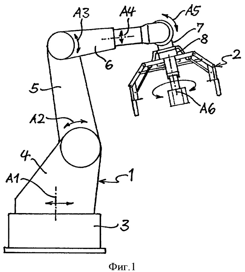
В первую очередь нужно понять какой максимальный крутящий момент нам нужен, максимально необходимый крутящий момент будет нужен в двух секциях A2 и A3, но наибольшее в A2 при поднятии тела ровно вверх, когда плечо №5 и №6 будет параллельно плоскости на которой стоит манипулятор, схематично изображено на рисунке: Для расчетов необходимо понимать, сколько будет весить одна секция с мотором. Для примера возьмем три разных мотора: безщеточный серводвигатель, шаговый двигатель, шаговый двигатель с редуктором 5:1. Масса сервопривода - 70г, масса шагового двигателя 220г, масса шагового двигателя с редуктором 5:1 - 350г. Вес одной секции без мотора - 120г(взято примерно, при использовании алюминиевых пластин).
Используя формулу F=m*a мы вычислим какая сила должна воздействовать на тело для того, чтобы его поднять. Но необходимо понимать, что поднимая тело, мотору нужно так же поднимать все сегменты манипулятора, которые расположены после него. Таким образом формула принимает вид: F = (m(тела) + m(сегмента 1) + m(сегмента 2) + ... + m(сегмента n))*(a + g). Где F - сила, приложенная к телу, m -масса чего-либо, a - ускорение тела и g - ускорение свободного падения.
Получается что для поднятия тела массой 500г. вертикально вверх c равномерным ускорением по формуле a = (V1-V0)/t, где V0 - это начальная скорость, которая равна 0 и V1 - это конечная скорость которая равна 0,5 м/с, а t - это время прошедшее с момента V0 до V1 равное 1 секунде, то ускорение у нас равно a = (0,5м/с - 0)/1сек= 0,5м/с^2, тогда для каждой из конструкций необходимо приложить силу:
конечная формула такая F = (0,5кг + m(сегмента)*3 + m(масса 4-ого сегмента, с захватом или другими прибамбасами пусть будет 150г))*(a + g)
Для сервопривода:
F = (0,5кг + 0,19кг * 3 + 0,15кг)*(0,5м/с^2 + 10м/с^2) = 1,22кг*10,3м/с^2 = 12,56Н
Для шагового двигателя:
F = (0,5кг + 0,34кг * 3 + 0,15кг)*(0,5м/с^2 + 10м/с^2) = 1,67кг*10,3м/с^2 = 17,2Н
Для шагового двигателя с редуктором 5:1:
F = (0,5кг + 0,47кг * 1 + 0,34кг * 2 + 0,15кг)*(0,5м/с^2 + 10м/с^2) = 1,8кг*10,3м/с^2 = 18,54Н
Заметили что я сделал в последней формуле? В данном случае шаговый двигатель с редуктором нам нужен только в A2 и в A3, но по скольку мы массу мотора A2 не учитываем, потому что сам мотор стоит в предыдущем сегменте, то учитываем только вес A3, а в качестве остальных моторов - A4, A5 нет необходимости использовать редуктор, потому как обычные шаговики справятся с необходимы крутящим моментом. поэтому мы прибавляем массу шаговых двигателей без редуктора.
Заметно как, небходимая сила увеличивается в зависимости от массы выбранного двигателя для сегмента манипулятора.
Однако это еще не все, эта F, которую мы нашил эта сила, которую нужно приложить в середине веса данной конструкции т.е. в середине всех четырех сегментов с грузом, параллельной плоскости на которой закреплен манипулятор, но силу мы ведь прикладываем не по середине, а в самом начале, потому как мотор расположен у нас в самом начале. Тогда нам необходимо найти момент силы используя формулу M(F)=F*h, где M(F) - момент силы, F - сила, h -плечо. Однако и это еще не все нужно понять длину каждого сегмента. Возьмем примерные величины, при передаче на поднимающийся механизмы будем воздействовать напрямую при использовании сервопривода и шагового двигателя, а при использовании шагового двигателя с редуктором 5:1 будем использовать угловую передачу момента с редуктора на сегмент манипулятора. Потому как данный тип двигателя слишком длинный из-за установленного планетарного редуктора, длинна которого такая же как один шаговый двигатель. Приблизительные размеры: плечо №5 - 20см, плечо №6 делится на два сегмента по 10см, плечо №7 - 5см. В общем длинна полностью разогнутого манипулятора от мотора A2 22см+11см+11см+6см=50 см. Каждый из описываемых моторов может быть установлен во все сегменты кроме последнего.
Для сервопривода:
Вначале прибавляем 5% от необходимой силы на "запас".
F= 12,56N + (0,05*12,56N)=13,18Н
M(F)=13,18N*0,5м = 6,59Нм = 67,19кгс/см, у нас ведь не метр, а 50 см
Для шагового двигателя:
F= 17,2N + (0,05*17,2N)=18,06Н
M(F)=18,06N*0,5м = 9,03Нм = 92,08кгс/см
Для шагового двигателя с редуктором 5:1:
F= 18,54N + (0,05*18,54N)=19,46Н
M(F)=18,54N*0,5м = 9,73Нм = 99,21кгс/см
Хотел продолжить дальше, но что-то не то, какие-то немыслимые числа, слишком большой необходимы крутящий момент для поставленных задач, есть идеи, где я мог ошибиться?
Спасибо за помощь!
Было решено делать манипулятор по-секционно, т.е. в каждой секции по собственному мотору. Драйвер планирую использовать - A4988,м микрошаговый режим зависит от наличия редуктора.
В данной конструкции предпочтение отдается прямой передачи момента с моторов на каждую следующую секцию, для достижения максимальной точности, однако не всегда это возможно, в таком случае предпочтение отдается минимальному количеству соединений. Ременная передача момента в данной конструкции не используется вообще.
(Прошу заметить что я не профессионал в данной области и могу где-то ошибаться, поэтому если кто-нибудь заметит - поправляйте меня, я все учту.) Спор в моей голове идет спор насчет того, какие же моторы использовать в манипуляторе сервоприводы или шаговые двигатели.
В первую очередь нужно понять какой максимальный крутящий момент нам нужен, максимально необходимый крутящий момент будет нужен в двух секциях A2 и A3, но наибольшее в A2 при поднятии тела ровно вверх, когда плечо №5 и №6 будет параллельно плоскости на которой стоит манипулятор, схематично изображено на рисунке: Для расчетов необходимо понимать, сколько будет весить одна секция с мотором. Для примера возьмем три разных мотора: безщеточный серводвигатель, шаговый двигатель, шаговый двигатель с редуктором 5:1. Масса сервопривода - 70г, масса шагового двигателя 220г, масса шагового двигателя с редуктором 5:1 - 350г. Вес одной секции без мотора - 120г(взято примерно, при использовании алюминиевых пластин).
Используя формулу F=m*a мы вычислим какая сила должна воздействовать на тело для того, чтобы его поднять. Но необходимо понимать, что поднимая тело, мотору нужно так же поднимать все сегменты манипулятора, которые расположены после него. Таким образом формула принимает вид: F = (m(тела) + m(сегмента 1) + m(сегмента 2) + ... + m(сегмента n))*(a + g). Где F - сила, приложенная к телу, m -масса чего-либо, a - ускорение тела и g - ускорение свободного падения.
Получается что для поднятия тела массой 500г. вертикально вверх c равномерным ускорением по формуле a = (V1-V0)/t, где V0 - это начальная скорость, которая равна 0 и V1 - это конечная скорость которая равна 0,5 м/с, а t - это время прошедшее с момента V0 до V1 равное 1 секунде, то ускорение у нас равно a = (0,5м/с - 0)/1сек= 0,5м/с^2, тогда для каждой из конструкций необходимо приложить силу:
конечная формула такая F = (0,5кг + m(сегмента)*3 + m(масса 4-ого сегмента, с захватом или другими прибамбасами пусть будет 150г))*(a + g)
Для сервопривода:
F = (0,5кг + 0,19кг * 3 + 0,15кг)*(0,5м/с^2 + 10м/с^2) = 1,22кг*10,3м/с^2 = 12,56Н
Для шагового двигателя:
F = (0,5кг + 0,34кг * 3 + 0,15кг)*(0,5м/с^2 + 10м/с^2) = 1,67кг*10,3м/с^2 = 17,2Н
Для шагового двигателя с редуктором 5:1:
F = (0,5кг + 0,47кг * 1 + 0,34кг * 2 + 0,15кг)*(0,5м/с^2 + 10м/с^2) = 1,8кг*10,3м/с^2 = 18,54Н
Заметили что я сделал в последней формуле? В данном случае шаговый двигатель с редуктором нам нужен только в A2 и в A3, но по скольку мы массу мотора A2 не учитываем, потому что сам мотор стоит в предыдущем сегменте, то учитываем только вес A3, а в качестве остальных моторов - A4, A5 нет необходимости использовать редуктор, потому как обычные шаговики справятся с необходимы крутящим моментом. поэтому мы прибавляем массу шаговых двигателей без редуктора.
Заметно как, небходимая сила увеличивается в зависимости от массы выбранного двигателя для сегмента манипулятора.
Однако это еще не все, эта F, которую мы нашил эта сила, которую нужно приложить в середине веса данной конструкции т.е. в середине всех четырех сегментов с грузом, параллельной плоскости на которой закреплен манипулятор, но силу мы ведь прикладываем не по середине, а в самом начале, потому как мотор расположен у нас в самом начале. Тогда нам необходимо найти момент силы используя формулу M(F)=F*h, где M(F) - момент силы, F - сила, h -плечо. Однако и это еще не все нужно понять длину каждого сегмента. Возьмем примерные величины, при передаче на поднимающийся механизмы будем воздействовать напрямую при использовании сервопривода и шагового двигателя, а при использовании шагового двигателя с редуктором 5:1 будем использовать угловую передачу момента с редуктора на сегмент манипулятора. Потому как данный тип двигателя слишком длинный из-за установленного планетарного редуктора, длинна которого такая же как один шаговый двигатель. Приблизительные размеры: плечо №5 - 20см, плечо №6 делится на два сегмента по 10см, плечо №7 - 5см. В общем длинна полностью разогнутого манипулятора от мотора A2 22см+11см+11см+6см=50 см. Каждый из описываемых моторов может быть установлен во все сегменты кроме последнего.
Для сервопривода:
Вначале прибавляем 5% от необходимой силы на "запас".
F= 12,56N + (0,05*12,56N)=13,18Н
M(F)=13,18N*0,5м = 6,59Нм = 67,19кгс/см, у нас ведь не метр, а 50 см
Для шагового двигателя:
F= 17,2N + (0,05*17,2N)=18,06Н
M(F)=18,06N*0,5м = 9,03Нм = 92,08кгс/см
Для шагового двигателя с редуктором 5:1:
F= 18,54N + (0,05*18,54N)=19,46Н
M(F)=18,54N*0,5м = 9,73Нм = 99,21кгс/см
Хотел продолжить дальше, но что-то не то, какие-то немыслимые числа, слишком большой необходимы крутящий момент для поставленных задач, есть идеи, где я мог ошибиться?
Спасибо за помощь!
-
Duhas
- Мастер
- Сообщения: 1961
- Зарегистрирован: 10 окт 2015, 23:25
- Репутация: 285
- Настоящее имя: Андрей
- Откуда: Красноярск
- Контактная информация:
Re: Манипулятор, выбор моторов
не проверял. но для манипулятора нужны серьезные привода )
- Maxekb77
- Мастер
- Сообщения: 1658
- Зарегистрирован: 05 окт 2013, 00:04
- Репутация: 285
- Настоящее имя: Максим
- Откуда: Екатеринбург
- Контактная информация:
Re: Манипулятор, выбор моторов
Да можно и на не серьезных тока скорость будет не очень.
как вариант использовать червячные редуктора - дешево и сердито.
как вариант использовать червячные редуктора - дешево и сердито.
- Taganrog
- Мастер
- Сообщения: 1238
- Зарегистрирован: 15 апр 2015, 16:32
- Репутация: 284
- Настоящее имя: Евгений
- Откуда: Брянск
- Контактная информация:
Re: Манипулятор, выбор моторов
тоже собираюсь делать манипулятор,чтоб менял заготовки на фрезере. Расчеты проводил примерные, но выходит момент нужен около 800кгсм у меня 2 плеча по 80см. что совсем не мало. И обойтись без редукторов не вариант. Момента на движках не хватит или они будут золотые. Да и точность перемещения будет сильно хромать. планирую редуктор червячный 1/120. Но расчеты еще веду. Прежде чем собирать надо посмотреть на бюджет данной затеи. Брать буду nema23 на 12кгсм или около того и драйвера пока самый бюджет TB6600. Слабее делать просто смысла нет.
-
aftaev
- Зачётный участник

- Сообщения: 34042
- Зарегистрирован: 04 апр 2010, 19:22
- Репутация: 6194
- Откуда: Казахстан.
- Контактная информация:
Re: Манипулятор, выбор моторов
bartik226, много букаффф.
Какое максимальное расстояние вытянутой руки от центра вращения робота?
Какая грузоподъемность?
В граммах все указано, речь о таком примерно роботе?
https://www.youtube.com/watch?v=cod_SNq-d6c
Какое максимальное расстояние вытянутой руки от центра вращения робота?
Какая грузоподъемность?
В граммах все указано, речь о таком примерно роботе?
https://www.youtube.com/watch?v=cod_SNq-d6c
Дилетанту сложные вещи кажутся очень простыми, и только профессионал понимает насколько сложна самая простая вещь
Кто хочет - ищет возможности, кто не хочет - ищет оправдание.
Найди работу по душе и тебе не придется работать.
Кто хочет - ищет возможности, кто не хочет - ищет оправдание.
Найди работу по душе и тебе не придется работать.
-
bartik226
- Новичок
- Сообщения: 16
- Зарегистрирован: 06 май 2016, 16:15
- Репутация: 0
- Настоящее имя: Кирилл
- Контактная информация:
Re: Манипулятор, выбор моторов
Чтоб люди не думали, что такое не возможно, во всех конструкциях используется либо nema 17 либо nema 23, не больше.Duhas писал(а):не проверял. но для манипулятора нужны серьезные привода )
[youtube]https://www.youtube.com/watch?v=5JOYzWSV164[/youtube] - про нагрузку ничего, но двигается очень резво, почти уверен что грамм 200 поднимет, а если замедлить, то и еще больше.
[youtube]https://www.youtube.com/watch?v=IrmOFbSAW2Y[/youtube] - заявлено, что возможная нагрузка 0,5 кг, но там расположение моторов немного другое.
[youtube]https://www.youtube.com/watch?v=89B-pY18O4U[/youtube] - заявлено, что возможная нагрузка 0,5 кг, но там сервоприводы и их расположение немного другое.
[youtube]https://www.youtube.com/watch?v=gAd0PxEER1o[/youtube] - заявлено, что возможная нагрузка 0,5 кг, там точно шаговики с редукторами, но точно не понятно как они расположены, прошу заметить насколько он быстрый!
[youtube]https://www.youtube.com/watch?v=Gx5be7_J2xc[/youtube] - то же, что и перед ним.
Заметьте, что загруженность 0,5 кг не такая уж и большая, потому как если эти 0,5кг вообще убрать из формулы, то конечные цифры изменяться не особо то и значительно. Например, если использовать шаговик с редуктором 5:1 без нагрузки 0,5 кг, то необходимый крутящий момент будет равен 6,99Нм=69,9кгс/см, даже так цифры запредельные!
-
bartik226
- Новичок
- Сообщения: 16
- Зарегистрирован: 06 май 2016, 16:15
- Репутация: 0
- Настоящее имя: Кирилл
- Контактная информация:
Re: Манипулятор, выбор моторов
Червячные редуктора рассматривал, однако найти в свободной продаже для nema 17 и 23, не смог, по крайней мере за адекватные деньги. Так же, заметьте, какое я указал требуемое ускорение - 0,5 м/с, с какой же скоростью должен раскручиваться шаговик при необходимом передаточном числе? при максимально возможных 35V и 2A на фазу при использовании данного драйфера? Или же весь конфиг упирается в драйвер? Так же вроде как есть такое важное понятие как частота следования шагов, при использовании микрошагового режима, и такого количества оборотов в минуту, частата будит огромной, справиться ли сам шаговик? а драйвер?Maxekb77 писал(а):Да можно и на не серьезных тока скорость будет не очень.
как вариант использовать червячные редуктора - дешево и сердито.
- Taganrog
- Мастер
- Сообщения: 1238
- Зарегистрирован: 15 апр 2015, 16:32
- Репутация: 284
- Настоящее имя: Евгений
- Откуда: Брянск
- Контактная информация:
Re: Манипулятор, выбор моторов
Чего запредельные то ? рычаг он и в африке рычаг... делай короче , и усилие поползет вниз резко. расчеты твои не проверял но сомневаюсь что калькуляторы врать научились. да и не запредельные это цыфры с нормальным червячным редуктором. по поводу частоты. На фрезере nema23 2.8А раскручивается до 1400 обмин при микрошаге 8 без проблем.bartik226 писал(а):69,9кгс/см, даже так цифры запредельные!
П.С. не сможете вы выжать с вашего драйвера 35В и 2А. это запредельно это даже по даташиту абсолютный максимум.
-
bartik226
- Новичок
- Сообщения: 16
- Зарегистрирован: 06 май 2016, 16:15
- Репутация: 0
- Настоящее имя: Кирилл
- Контактная информация:
Re: Манипулятор, выбор моторов
Действительно много букв, но я все описал, максимальное расстояние 50 см (походу придется уменьшать вдвое), грузоподъемность 0,5 кг. Да, речь о таком примерно.aftaev писал(а):bartik226, много букаффф.
Какое максимальное расстояние вытянутой руки от центра вращения робота?
Какая грузоподъемность?
В граммах все указано, речь о таком примерно роботе?
https://www.youtube.com/watch?v=cod_SNq-d6c
-
bartik226
- Новичок
- Сообщения: 16
- Зарегистрирован: 06 май 2016, 16:15
- Репутация: 0
- Настоящее имя: Кирилл
- Контактная информация:
Re: Манипулятор, выбор моторов
Наверно вы правы, вот только червячных редукторов для nema 17 не встречал, походу придется самому делать, да и не дешевого это вообще.Taganrog писал(а):Чего запредельные то ? рычаг он и в африке рычаг... делай короче , и усилие поползет вниз резко. расчеты твои не проверял но сомневаюсь что калькуляторы врать научились. да и не запредельные это цыфры с нормальным червячным редуктором. по поводу частоты. На фрезере nema23 2.8А раскручивается до 1400 обмин при микрошаге 8 без проблем.bartik226 писал(а):69,9кгс/см, даже так цифры запредельные!
П.С. не сможете вы выжать с вашего драйвера 35В и 2А. это запредельно это даже по даташиту абсолютный максимум.
А при таком микрошаге и кол-во оборотов драйвер справится? Насчет моего драйвера, данныйе брал как раз из даташита, думал рулить 24-32V и 1,5A, но получается что это мало для моих целей? (хм казалось бы какой маленький манипулятор, а какие требования...)
В вашем случае вообще бешеные цифры) Хм, мб тогда поделитесь ссылочкой для рассчетов тока и напряжения для требуемого двигателя и вообще для подбора драйвера и блока питания, если знаете.
- Taganrog
- Мастер
- Сообщения: 1238
- Зарегистрирован: 15 апр 2015, 16:32
- Репутация: 284
- Настоящее имя: Евгений
- Откуда: Брянск
- Контактная информация:
Re: Манипулятор, выбор моторов
смотрите какой момент нужен. От этого пляшите подбирая двигатель с редуктором. Выбираете любой драйвер (тем по ним достаточно) ориентируясь на бюджет/качество в зависимости от тока двигателя. а напряжение ,которым должен питаться драйвер примерно можете прикинуть по этой ссылке
http://vydrenko.ru/StepperMotorCalculat ... 36,W=1,D=5
п.с. это если в 2х словах.
меня больше волнует люфт на конечной шестерне,ведь если делать ее самому и будет люфтить в пол градуса (а без поджима вряд-ли сделаю точнее самостоятельно) то на рычаге в 1.6метра я не получаю желаемую точность. вот и прикидываю чем и в каком размере пожертвовать.
http://vydrenko.ru/StepperMotorCalculat ... 36,W=1,D=5
п.с. это если в 2х словах.
меня больше волнует люфт на конечной шестерне,ведь если делать ее самому и будет люфтить в пол градуса (а без поджима вряд-ли сделаю точнее самостоятельно) то на рычаге в 1.6метра я не получаю желаемую точность. вот и прикидываю чем и в каком размере пожертвовать.
- raddd
- Почётный участник

- Сообщения: 1564
- Зарегистрирован: 10 фев 2015, 08:50
- Репутация: 540
- Настоящее имя: Alexey Rodionov
- Откуда: Беларусь Минский р-н
- Контактная информация:
Re: Манипулятор, выбор моторов
А если все собрать на приводах дворников?
Обратную связь по переменному сопротивлению.
Афтор точности то не заявлял...
Обратную связь по переменному сопротивлению.
Афтор точности то не заявлял...
||||||||||||
||||||||||||
||||||||||||
- Taganrog
- Мастер
- Сообщения: 1238
- Зарегистрирован: 15 апр 2015, 16:32
- Репутация: 284
- Настоящее имя: Евгений
- Откуда: Брянск
- Контактная информация:
Re: Манипулятор, выбор моторов
У автора много расчетов но мало конкретики ни точности ни назначения не увидел . В прочем, в начале всегда так. как будет делаться 3Д модель выползут еще куча нюансов. ИМХО это нормально. Тема мне интересна. как закончу ремонт в мастерской (купил для этого гараж) так присоединюсь. Тоже давно хочется манипулятор "аля Джамшут".
-
bartik226
- Новичок
- Сообщения: 16
- Зарегистрирован: 06 май 2016, 16:15
- Репутация: 0
- Настоящее имя: Кирилл
- Контактная информация:
Re: Манипулятор, выбор моторов
Спасибо за совет, и за ссылочку, очень полезная. Драйвер думаю мне подойдет tb6600 он и достаточно недорогой.Taganrog писал(а):смотрите какой момент нужен. От этого пляшите подбирая двигатель с редуктором. Выбираете любой драйвер (тем по ним достаточно) ориентируясь на бюджет/качество в зависимости от тока двигателя. а напряжение ,которым должен питаться драйвер примерно можете прикинуть по этой ссылке
http://vydrenko.ru/StepperMotorCalculat ... 36,W=1,D=5
п.с. это если в 2х словах.
меня больше волнует люфт на конечной шестерне,ведь если делать ее самому и будет люфтить в пол градуса (а без поджима вряд-ли сделаю точнее самостоятельно) то на рычаге в 1.6метра я не получаю желаемую точность. вот и прикидываю чем и в каком размере пожертвовать.
Вот, кстати про люфт, как его посчитать, я думал на этот счет, но не могу понять по какой формуле его рассчитать. хотелось бы иметь 0,02-0,03мм точность на конце плеча в 50 см. Мб формулу знаете?
Обратную связь думаю действительно делать по сопротивлению, точность 0,02-0,03мм хочется, не указал этого потому как расчеты были дальше.raddd писал(а):А если все собрать на приводах дворников?
Обратную связь по переменному сопротивлению.
Афтор точности то не заявлял...
Назначение - да все что душе угодно от пайки плат и раскладки smd до приготовления блинчиков.=) 3д модель в ближайшее время делаться будет.Taganrog писал(а):У автора много расчетов но мало конкретики ни точности ни назначения не увидел . В прочем, в начале всегда так. как будет делаться 3Д модель выползут еще куча нюансов. ИМХО это нормально. Тема мне интересна. как закончу ремонт в мастерской (купил для этого гараж) так присоединюсь. Тоже давно хочется манипулятор "аля Джамшут".
А вот есть вопросец, но никак не могу посчитать, смотрите, при тех значениях которые я высчитал, мне же не достаточно просто подбирать шаговик, потому как у шаговиков же момент серьезно падает при увеличении оборотов, например нужный мне момент 50кгс/см, а необходимое кол-во оборотов 300об/м, как я могу понять, будет ли у того мотора 50кгс/см при 300об/м, ведь производитель указывает скорее максимальный крутящий момент при минимальных оборотах? Или это вообще невозможно узнать, если производитель график не предоставляет?
- AndyBig
- Мастер
- Сообщения: 3971
- Зарегистрирован: 07 мар 2014, 04:01
- Репутация: 1121
- Откуда: юг России
- Контактная информация:
Re: Манипулятор, выбор моторов
Длина окружности диаметром 500 мм - 1571 мм, делим на шаг 0.03 мм = 52360 шагов на один оборот. Без серьезного редуктора забудьте о такой точности. Впрочем, о серьезном редукторе с такой точностью тоже забудьте, редуктор с люфтом под нагрузкой меньше 0.007 градуса будет по цене золотымbartik226 писал(а):хотелось бы иметь 0,02-0,03мм точность на конце плеча в 50 см
В общем, просто забудьте о такой точности на таком плече
- Taganrog
- Мастер
- Сообщения: 1238
- Зарегистрирован: 15 апр 2015, 16:32
- Репутация: 284
- Настоящее имя: Евгений
- Откуда: Брянск
- Контактная информация:
Re: Манипулятор, выбор моторов
нереально. не встречал сопротивлений с такой равномерностью. Чтоб поворот на 0,01 градуса давал одинаковый прирост да по всей длине.bartik226 писал(а):Обратную связь думаю действительно делать по сопротивлению, точность 0,02-0,03мм хочется,
Это верно.Собственно смотрю ролики про манипуляторы которые в размере по 2-3 метра на конце стоит дрель или фрезер и они сверлят/фрзеруют блоки цилиндров на конвейере на заводах и офигиваю, как там добились таких точностей да еще и такой жесткости ,что позволяет заниматься сверлением на таком плече...AndyBig писал(а):редуктор с люфтом под нагрузкой меньше 0.007 градуса будет по цене золотым
- PKM
- Почётный участник

- Сообщения: 4263
- Зарегистрирован: 31 мар 2011, 18:11
- Репутация: 705
- Настоящее имя: Андрей
- Откуда: Украина
- Контактная информация:
Re: Манипулятор, выбор моторов
В таких промышленных манипуляторах стоят большие жесткие волновые редукторы и мощные сервомоторы. Им сверление нипочем.
- exup
- Опытный
- Сообщения: 158
- Зарегистрирован: 22 дек 2012, 21:49
- Репутация: 59
- Настоящее имя: Алексей
- Откуда: Москва
- Контактная информация:
Re: Манипулятор, выбор моторов
вероятно, автор в теме этой всё изучил, но на всякий случай ...
http://www.cnc-club.ru/forum/viewtopic. ... &start=340
про первую ось уже написали, с второй не легче..
имхо, при "бюджетной" постройке с претензией на повторяемость, без швп + ремни/цепи/тяги обойтись не удастся...
САМ для робота существует за приемлемые деньги ?
Джамшут
http://www.cnc-club.ru/forum/viewtopic. ... &start=340
про первую ось уже написали, с второй не легче..
имхо, при "бюджетной" постройке с претензией на повторяемость, без швп + ремни/цепи/тяги обойтись не удастся...
САМ для робота существует за приемлемые деньги ?
Джамшут
- AndyBig
- Мастер
- Сообщения: 3971
- Зарегистрирован: 07 мар 2014, 04:01
- Репутация: 1121
- Откуда: юг России
- Контактная информация:
Re: Манипулятор, выбор моторов
И очень, очень жесткая механика.PKM писал(а):В таких промышленных манипуляторах стоят большие жесткие волновые редукторы и мощные сервомоторы. Им сверление нипочем.
Золотые волновые редукторы, золотые сервокомплекты... Стоимость таких роботов позволяет не экономить на комплектующихTaganrog писал(а):как там добились таких точностей да еще и такой жесткости ,что позволяет заниматься сверлением на таком плече...
- raddd
- Почётный участник

- Сообщения: 1564
- Зарегистрирован: 10 фев 2015, 08:50
- Репутация: 540
- Настоящее имя: Alexey Rodionov
- Откуда: Беларусь Минский р-н
- Контактная информация:
Re: Манипулятор, выбор моторов
Чет я погорячился сопротивлением))))Обратную связь думаю действительно делать по сопротивлению, точность 0,02-0,03мм хочется
2-3мм ещё куда нишло...
||||||||||||
||||||||||||
||||||||||||