MESA 5i25+7i77+SGDA04AS+SGMP-04A3A4

Работа с платами MESA, подключение, конфигурация.
DArk
Опытный
Сообщения: 121
Зарегистрирован: 01 июл 2013, 21:40
Репутация: 5
Контактная информация:

Re: MESA 5i25+7i77+SGDA04AS+SGMP-04A3A4

Сообщение DArk »

Nick писал(а):custom.hal
а его нужно как то указывать в файле .ini что бы он подгружался или он сам?

а где посмотреть список пинов?
DArk
Опытный
Сообщения: 121
Зарегистрирован: 01 июл 2013, 21:40
Репутация: 5
Контактная информация:

Re: MESA 5i25+7i77+SGDA04AS+SGMP-04A3A4

Сообщение DArk »

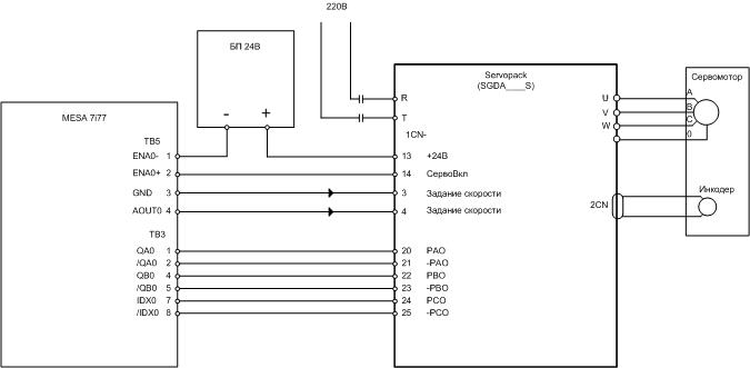
набросал схему подключения как сейчас подключено и работает
(на схеме не указаны концевики которые требует серва для работы)
теперь Я задаюсь вопросом завода их в месу сначала для симуляции их работы.
а как потом лучше подключить через месу или напрямую?
Вложения
схема подключения 7и77-сгда.jpg (7429 просмотров) <a class='original' href='./download/file.php?id=45434&mode=view' target=_blank>Загрузить оригинал (22.08 КБ)</a>
Аватара пользователя
Serg
Мастер
Сообщения: 21923
Зарегистрирован: 17 апр 2012, 14:58
Репутация: 5183
Заслуга: c781c134843e0c1a3de9
Настоящее имя: Сергей
Откуда: Москва
Контактная информация:

Re: MESA 5i25+7i77+SGDA04AS+SGMP-04A3A4

Сообщение Serg »

может стоит все темы по подключению яскав к 7i77 объединить в один подфорум?.. :thinking:
Я не Христос, рыбу не раздаю, но могу научить, как сделать удочку...
DArk
Опытный
Сообщения: 121
Зарегистрирован: 01 июл 2013, 21:40
Репутация: 5
Контактная информация:

Re: MESA 5i25+7i77+SGDA04AS+SGMP-04A3A4

Сообщение DArk »

а можно замутить к этому всему делу электронный маховик?
типо http://ru.aliexpress.com/item/Eletronic ... dVersion=1
и как его нужно будет подключать?
Аватара пользователя
Nick
Мастер
Сообщения: 22776
Зарегистрирован: 23 ноя 2009, 16:45
Репутация: 1735
Заслуга: Developer
Откуда: Gatchina, Saint-Petersburg distr., Russia
Контактная информация:

Re: MESA 5i25+7i77+SGDA04AS+SGMP-04A3A4

Сообщение Nick »

DArk писал(а):а как потом лучше подключить через месу или напрямую?
можно и туда и туда. Чтобы и серва знала об аварии и LinuxCNC.
DArk писал(а):а можно замутить к этому всему делу электронный маховик?
типо http://ru.aliexpress.com/item/Eletronic ... dVersion=1
и как его нужно будет подключать?
Да. подключаешь к любому разъему энкодера, потом все отдельно настраивается.
Вот пример настройки штурвала.
АКПП для РГИ :) #1
или вот http://linuxcnc.org/docs/html/examples/mpg.html


UAVpilot писал(а):
может стоит все темы по подключению яскав к 7i77 объединить в один подфорум?.. :thinking:
Тоже об этом думаю, надо вообще всю месу в отдельный подфорум скинуть....
DArk
Опытный
Сообщения: 121
Зарегистрирован: 01 июл 2013, 21:40
Репутация: 5
Контактная информация:

Re: MESA 5i25+7i77+SGDA04AS+SGMP-04A3A4

Сообщение DArk »

Nick писал(а):Тоже об этом думаю, надо вообще всю месу в отдельный подфорум скинуть....
а уже в нём подфорум меса+яскава
Аватара пользователя
Serg
Мастер
Сообщения: 21923
Зарегистрирован: 17 апр 2012, 14:58
Репутация: 5183
Заслуга: c781c134843e0c1a3de9
Настоящее имя: Сергей
Откуда: Москва
Контактная информация:

Re: MESA 5i25+7i77+SGDA04AS+SGMP-04A3A4

Сообщение Serg »

DArk писал(а):а уже в нём подфорум меса+яскава
Вообще-то я намекаю на то, что тут уже несколько тем про подключение яскав к 7i77 с одними и теми-же вопросами...
Я не Христос, рыбу не раздаю, но могу научить, как сделать удочку...
DArk
Опытный
Сообщения: 121
Зарегистрирован: 01 июл 2013, 21:40
Репутация: 5
Контактная информация:

Re: MESA 5i25+7i77+SGDA04AS+SGMP-04A3A4

Сообщение DArk »

UAVpilot писал(а):я намекаю
в этом и проблемы у новичков, перечитывание по 20 страниц намёков очень сильно тормозит процесс запуска...
Аватара пользователя
Serg
Мастер
Сообщения: 21923
Зарегистрирован: 17 апр 2012, 14:58
Репутация: 5183
Заслуга: c781c134843e0c1a3de9
Настоящее имя: Сергей
Откуда: Москва
Контактная информация:

Re: MESA 5i25+7i77+SGDA04AS+SGMP-04A3A4

Сообщение Serg »

У всех новичков всегда будут проблемы с перечитыванием кучи страниц - на то они и новички. И тут они начинают делиться на две категории: одни пытаются найти решение своей проблемы во всех этих темах, а другие просто создают свою тему по принципу "мне лень искть, давайте помогайте мне".

Одно дело, когда есть тема в которой рассматриваются разные случаи подключения. И совсем другое дело, когда есть десяток аналогичных тем, в каждой их которых на нескольких первых страницах народ пытается понять что-же хочет ТС и что он у себя уже наворотил. А при вдумчивом сравнении подобных тем как правило оказывается, что вопросы в них освещаются почти полностью идентичные, разве что один ТС использовал красные провода, а другой зелёные...
Я не Христос, рыбу не раздаю, но могу научить, как сделать удочку...
DArk
Опытный
Сообщения: 121
Зарегистрирован: 01 июл 2013, 21:40
Репутация: 5
Контактная информация:

Re: MESA 5i25+7i77+SGDA04AS+SGMP-04A3A4

Сообщение DArk »

UAVpilot писал(а):проблемы с перечитыванием кучи страниц
наверное именно по этому движок форума оставляет возможность редактирования стартового сообщения
Аватара пользователя
Nick
Мастер
Сообщения: 22776
Зарегистрирован: 23 ноя 2009, 16:45
Репутация: 1735
Заслуга: Developer
Откуда: Gatchina, Saint-Petersburg distr., Russia
Контактная информация:

Re: MESA 5i25+7i77+SGDA04AS+SGMP-04A3A4

Сообщение Nick »

Тогда надо страничку в вики сбацать, и если что разу в нее посылать...
Ответить

Вернуться в «MESA»