Всем доброго времени суток.
Переделывал ли кто конус шпинделя с КМ на ВТ40 ,с зажимом лепестковой цангой.
Хотим переделать ,но очень много вопросов.
Переделка инструментального конуса шпинделя с КМ на ВТ40.
-
zavas70
- Новичок
- Сообщения: 17
- Зарегистрирован: 03 июл 2014, 12:15
- Репутация: 0
- Контактная информация:
Re: Переделка инструментального конуса шпинделя с КМ на ВТ40.
Не ужели ни кто не переделывал ?
-
aftaev
- Зачётный участник

- Сообщения: 34042
- Зарегистрирован: 04 апр 2010, 19:22
- Репутация: 6194
- Откуда: Казахстан.
- Контактная информация:
Re: Переделка инструментального конуса шпинделя с КМ на ВТ40.
А все шпинделя на всех станках с КМ одинаковые? Непонятно о каком КМ речь, о №1 или №6.
Нет чертежа шпинделя с КМ, что тут думать. Непонятно мяса хватит или нет чтобы расточить шпиндель с КМ на ВТ40.
Дилетанту сложные вещи кажутся очень простыми, и только профессионал понимает насколько сложна самая простая вещь
Кто хочет - ищет возможности, кто не хочет - ищет оправдание.
Найди работу по душе и тебе не придется работать.
Кто хочет - ищет возможности, кто не хочет - ищет оправдание.
Найди работу по душе и тебе не придется работать.
-
Kost_irk
- Мастер
- Сообщения: 1000
- Зарегистрирован: 19 июл 2018, 07:46
- Репутация: 194
- Откуда: Иркутск
- Контактная информация:
Re: Переделка инструментального конуса шпинделя с КМ на ВТ40.
И еще не понятно, нафига это нужно, что хотите получить от этой переделки?
-
zavas70
- Новичок
- Сообщения: 17
- Зарегистрирован: 03 июл 2014, 12:15
- Репутация: 0
- Контактная информация:
Re: Переделка инструментального конуса шпинделя с КМ на ВТ40.
Станок ,горизонтально-расточной ,конус Морзе №5 ,выталкивание инструмента -эксцентриком.
Конус Морзе не обеспечит быстросменность инструмента ,да и с конусом 7:24, более широкий ассортимент инструмента.
По габаритам хорошо подойдет ВТ40 ,но придется немного укоротить шпиндель.
Предполагаю ,со стороны конуса Морзе отрезать немного шпиндель ,расточить цилиндрическое отверстие ,вставить туда закаленную втулку ,на клей ,
наружный диаметр цилиндрический ,внутренний ,конус ВТ40,с припуском на шлифовку.
Конус шлифовать вместе со шпинделем.
Придется сверлить сквозное отверстие в шпинделе.
Пока я вижу три проблемы.
1.Механизм зажима ,набор тарельчатых пружин, размеры ,количество.
2.Размеры места ,где будет лепестковая цанга. Найти бы чертеж шпинделя станка с конусом ВТ40 с автозажимом .
3.Что приспособить для отжима инструмента ?
C гидравликой бы не хотелось связываться ,может ЭМГ как на 16А20Ф3 ,но она там работает на зажим ,будет ли работать на отжим?
С удовольствием ознакомлюсь с Вашими советами, идеями ,рекомендациями.
Конус Морзе не обеспечит быстросменность инструмента ,да и с конусом 7:24, более широкий ассортимент инструмента.
По габаритам хорошо подойдет ВТ40 ,но придется немного укоротить шпиндель.
Предполагаю ,со стороны конуса Морзе отрезать немного шпиндель ,расточить цилиндрическое отверстие ,вставить туда закаленную втулку ,на клей ,
наружный диаметр цилиндрический ,внутренний ,конус ВТ40,с припуском на шлифовку.
Конус шлифовать вместе со шпинделем.
Придется сверлить сквозное отверстие в шпинделе.
Пока я вижу три проблемы.
1.Механизм зажима ,набор тарельчатых пружин, размеры ,количество.
2.Размеры места ,где будет лепестковая цанга. Найти бы чертеж шпинделя станка с конусом ВТ40 с автозажимом .
3.Что приспособить для отжима инструмента ?
C гидравликой бы не хотелось связываться ,может ЭМГ как на 16А20Ф3 ,но она там работает на зажим ,будет ли работать на отжим?
С удовольствием ознакомлюсь с Вашими советами, идеями ,рекомендациями.
-
Kupfershcmidt
- Мастер
- Сообщения: 2295
- Зарегистрирован: 04 авг 2019, 15:54
- Репутация: 323
- Настоящее имя: Сергей
- Контактная информация:
Re: Переделка инструментального конуса шпинделя с КМ на ВТ40.
Пневмоцилиндр на разжим, если есть воздух в цеху, но гидравлика и компактней и вообще. Чертежи найти несложно, поискать надо просто.
Да и с пружинами что-то не вижу проблем...такое ощущение, что вы ничего не пытались найти просто. https://www.google.com/search?q=power+d ... 5&dpr=1.09
-
zavas70
- Новичок
- Сообщения: 17
- Зарегистрирован: 03 июл 2014, 12:15
- Репутация: 0
- Контактная информация:
Re: Переделка инструментального конуса шпинделя с КМ на ВТ40.
Спасибо за ссылку. Кое что нашел походящее на мой взгляд, буду изучать.
Я искал ,просто я "сыщик" плохой.
Я искал ,просто я "сыщик" плохой.
-
zavas70
- Новичок
- Сообщения: 17
- Зарегистрирован: 03 июл 2014, 12:15
- Репутация: 0
- Контактная информация:
Re: Переделка инструментального конуса шпинделя с КМ на ВТ40.
Всем доброго времени суток!
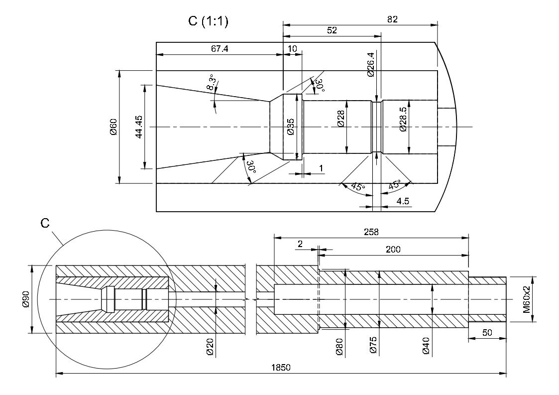
После многолетнего застоя ,решили снова вернуться к этому вопросу.
Переднюю и заднюю часть шпинделя хотим сделать по этим рисункам.
В итоге в первом приближении получается такой чертеж.
На штревеле и на цанге соответственно ,угол может быть 45,60 и 90 градусов.
Когда какой штревель и цангу следует применять ?
После многолетнего застоя ,решили снова вернуться к этому вопросу.
Переднюю и заднюю часть шпинделя хотим сделать по этим рисункам.
В итоге в первом приближении получается такой чертеж.
На штревеле и на цанге соответственно ,угол может быть 45,60 и 90 градусов.
Когда какой штревель и цангу следует применять ?