Контроллеры myCNC

Контроллеры, драйверы, датчики, управляющие устройства.
Аватара пользователя
niksooon
Мастер
Сообщения: 2144
Зарегистрирован: 23 июн 2014, 23:18
Репутация: 1207
Откуда: Кашира
Контактная информация:

Re: Контроллеры myCNC

Сообщение niksooon »

MiG77 писал(а): десятые доли импульса вроде не бывает.
если память не подводит ,то еще как бывает...... только через точку а не запятую........
Сделанное правильно — красиво. Если сделанное тебе не нравится — то и работать оно будет хреново. Перевари, пересверли, выпили заново — ну, или хотя бы покрась.
MiG77
Мастер
Сообщения: 235
Зарегистрирован: 16 фев 2020, 22:02
Репутация: 20
Настоящее имя: Головкин Михаил Валентинович
Откуда: Речицы
Контактная информация:

Re: Контроллеры myCNC

Сообщение MiG77 »

Не поможете понять, что надо делать? На экране движение фрезы не совпадает с линией траектории движения. Допустим в плоскости XY вместо квадрата вполне может выписывать прямоугольник. В реале все четко, можно забить, а свербит. Хочется чтобы картинка глаз радовала.
MiG77
Мастер
Сообщения: 235
Зарегистрирован: 16 фев 2020, 22:02
Репутация: 20
Настоящее имя: Головкин Михаил Валентинович
Откуда: Речицы
Контактная информация:

Re: Контроллеры myCNC

Сообщение MiG77 »

Не подскажете? Надо 2 физические кнопки привязать к одному выходу (вкл/выкл клапан зажима шпинделя) Есть вкладка Хард кнопки, в ней есть 2 колонки которые я не одолел. 1я Delay- переводится как задержка, но чего? Колонка Слот вообще мало чего понял что там выбирать. Не поможете?
ssisk
Кандидат
Сообщения: 44
Зарегистрирован: 22 фев 2017, 15:16
Репутация: 0
Настоящее имя: Сергей
Контактная информация:

Re: Контроллеры myCNC

Сообщение ssisk »

Не совсем понятен вопрос, вы хотите управлять сменой инструмента с контроллера?
MiG77
Мастер
Сообщения: 235
Зарегистрирован: 16 фев 2020, 22:02
Репутация: 20
Настоящее имя: Головкин Михаил Валентинович
Откуда: Речицы
Контактная информация:

Re: Контроллеры myCNC

Сообщение MiG77 »

Да, вручную с контроллера. Но чтобы не пачкать сенсорный экран грязными руками сделал 2 кнопки физические. Нужно их как то прописать в контроллере.
ssisk
Кандидат
Сообщения: 44
Зарегистрирован: 22 фев 2017, 15:16
Репутация: 0
Настоящее имя: Сергей
Контактная информация:

Re: Контроллеры myCNC

Сообщение ssisk »

А не проще их напрямую подключить к клапанам управления? Можно паралельно контроллеру, чтобы была возможность управлять хоть с контроллера, хоть с установленной кнопки.
У меня подобным образам аспирация работает, по умолчанию всегда включается контроллером, но если есть необходимость могу включить и кнопкой.
MiG77
Мастер
Сообщения: 235
Зарегистрирован: 16 фев 2020, 22:02
Репутация: 20
Настоящее имя: Головкин Михаил Валентинович
Откуда: Речицы
Контактная информация:

Re: Контроллеры myCNC

Сообщение MiG77 »

Может и проще, как план Б придется делать, но хочется освоить как программировать хард кнопки. Такого раздела в документации и на ютубе вообще не нашел.
Аватара пользователя
niksooon
Мастер
Сообщения: 2144
Зарегистрирован: 23 июн 2014, 23:18
Репутация: 1207
Откуда: Кашира
Контактная информация:

Re: Контроллеры myCNC

Сообщение niksooon »

Вот здесь кое что близкое к теме ....http://docs.pv-automation.com/plc/butto ... indication
Сделанное правильно — красиво. Если сделанное тебе не нравится — то и работать оно будет хреново. Перевари, пересверли, выпили заново — ну, или хотя бы покрась.
MiG77
Мастер
Сообщения: 235
Зарегистрирован: 16 фев 2020, 22:02
Репутация: 20
Настоящее имя: Головкин Михаил Валентинович
Откуда: Речицы
Контактная информация:

Re: Контроллеры myCNC

Сообщение MiG77 »

Спасибо, печально, что при богатых возможностях программы, из за отсутствия информации по нужным разделам приходится пользоваться костылями.
Аватара пользователя
niksooon
Мастер
Сообщения: 2144
Зарегистрирован: 23 июн 2014, 23:18
Репутация: 1207
Откуда: Кашира
Контактная информация:

Re: Контроллеры myCNC

Сообщение niksooon »

Некоторое время назад делал станок https://cnc-club.ru/forum/viewtopic.php ... &start=220 Внешних кнопок (по фото из ссылки видно) более чем дофига (на желтом таком шкафчике) и как-то проблем не возникло ......даже мануал читать не пришлось ,метод польского инженера Тыка как всегда помог......
Сделанное правильно — красиво. Если сделанное тебе не нравится — то и работать оно будет хреново. Перевари, пересверли, выпили заново — ну, или хотя бы покрась.
MiG77
Мастер
Сообщения: 235
Зарегистрирован: 16 фев 2020, 22:02
Репутация: 20
Настоящее имя: Головкин Михаил Валентинович
Откуда: Речицы
Контактная информация:

Re: Контроллеры myCNC

Сообщение MiG77 »

niksooon писал(а): метод польского инженера Тыка как всегда помог......
Золотые слова :) Решил я проблему. Не туда смотрел. Надо было на вкладку соединения. Назначаешь вход (не порт, а пин), назначаешь выход, ставишь коэффициенты. Они функционал обеспечивают. У меня кнопки без фиксации, методом польского инженера :) выяснил, что если к=1 а К0=10 происходит имитация кнопки с фиксацией, выход активируется и блокируется. Повторные нажатия кнопки ни к чему не приводят. Если К=0 и К0=0, то выход работает как кнопка без фиксации (это действительно для кнопки без фиксации, как работает кнопка с фиксацией я не знаю). Разблокировать заблокированный выход можно другой кнопкой. Тогда К-1 и К0=1
MiG77
Мастер
Сообщения: 235
Зарегистрирован: 16 фев 2020, 22:02
Репутация: 20
Настоящее имя: Головкин Михаил Валентинович
Откуда: Речицы
Контактная информация:

Re: Контроллеры myCNC

Сообщение MiG77 »

Пока резал симметричные детали, радовался жизни :) Оси ездят куда надо, направление движения осей соответствует кнопкам на панели. Но вот попалась не симметричная деталь, заметил, что станок то режет зеркально по оси Х. Ковыряние в постпроцессоре ни к чему хорошему не привело. Остался один вариант, инвертировать ось Y. Но тогда нарушается система координат и соответствие направления движения кнопкам на панели.
Не подскажете где проблема и как решить?
ssisk
Кандидат
Сообщения: 44
Зарегистрирован: 22 фев 2017, 15:16
Репутация: 0
Настоящее имя: Сергей
Контактная информация:

Re: Контроллеры myCNC

Сообщение ssisk »

Если инвертировать ось Y то могут появиться новые сюрпризы. В чём готовите УП? Постпроцессор не 5ти осевой используется?
MiG77
Мастер
Сообщения: 235
Зарегистрирован: 16 фев 2020, 22:02
Репутация: 20
Настоящее имя: Головкин Михаил Валентинович
Откуда: Речицы
Контактная информация:

Re: Контроллеры myCNC

Сообщение MiG77 »

Постпроцессор заказывал за деньги специально для 4х осей. Разработчик предлагал инвертировать оси в vmid файле, не помогло. Детали делаем в Солидкаме.
alex_sar
Мастер
Сообщения: 1863
Зарегистрирован: 28 авг 2018, 17:13
Репутация: 315
Настоящее имя: Алексей
Контактная информация:

Re: Контроллеры myCNC

Сообщение alex_sar »

MiG77 писал(а): Ковыряние в постпроцессоре ни к чему хорошему не привело.
Что-то странное. И это вообще т в настройках системы координат делается для каждой детали в CAM.

Вы кнопками когда едете по X в плюс, у вас фреза по детали куда едет - вправо или влево?
А по Y в плюс - фреза по детали - к вам или от вас?
ssisk
Кандидат
Сообщения: 44
Зарегистрирован: 22 фев 2017, 15:16
Репутация: 0
Настоящее имя: Сергей
Контактная информация:

Re: Контроллеры myCNC

Сообщение ssisk »

Мне тоже делали за деньги постпроцессор, только для Мастеркама, взяли 5ти осевой пост и долго его допиливали до 4ех осевого. Ось С из G-кода исчезла, но иногда УП строиться как под 5ти осевой, с повротом оси С на 180 градусов, а так как оси С физически нет на станке, сразу получаю зеркало по оси Х.
MiG77
Мастер
Сообщения: 235
Зарегистрирован: 16 фев 2020, 22:02
Репутация: 20
Настоящее имя: Головкин Михаил Валентинович
Откуда: Речицы
Контактная информация:

Re: Контроллеры myCNC

Сообщение MiG77 »

alex_sar писал(а): Вы кнопками когда едете по X в плюс, у вас фреза по детали куда едет - вправо или влево?
А по Y в плюс - фреза по детали - к вам или от вас?
Станок сделан на базе КРС 380. +Х идет вправо (вдоль оси движения стола), +У от меня.
Вложения
IMG-20230916-WA0004_jpeg_d8fbf19558b81785150c61dda048744c.jpg (7310 просмотров) <a class='original' href='./download/file.php?id=209535&mode=view' target=_blank>Загрузить оригинал (13.9 КБ)</a>
alex_sar
Мастер
Сообщения: 1863
Зарегистрирован: 28 авг 2018, 17:13
Репутация: 315
Настоящее имя: Алексей
Контактная информация:

Re: Контроллеры myCNC

Сообщение alex_sar »

MiG77 писал(а): Но вот попалась не симметричная деталь, заметил, что станок то режет зеркально по оси Х.
MiG77 писал(а): Станок сделан на базе КРС 380. +Х идет вправо (вдоль оси движения стола), +У от меня.
Ну так значит вопрос то вообще не к mycnc и не к станку, а к пост-процессору получается. Или просто элементарно систему координат на детали неправильно ставите в solidcam.

Но станок точно ломать не надо, чудес не оберётесь.
MiG77
Мастер
Сообщения: 235
Зарегистрирован: 16 фев 2020, 22:02
Репутация: 20
Настоящее имя: Головкин Михаил Валентинович
Откуда: Речицы
Контактная информация:

Re: Контроллеры myCNC

Сообщение MiG77 »

alex_sar писал(а): Или просто элементарно систему координат на детали неправильно ставите в solidcam.
С этим сложно начудить. Привязываешь ось Х и У к граням детали, Z сама встает куда надо. Вчера на эту тему с другом общался. Он хорошо разбирается в Солидкаме. Ошибок не нашел. Смотрел много видео по теме зеркалирования детали, в основном все решения сводились к программному изменению направления оси. При таком решении опрокидывается система координат. Z начинает смотреть вниз.
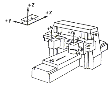
Еще смущает картинка, взята из ГОСТ 23597-79, ИСО 841-74 Станки металлорежущие с ЧПУ. Обозначение осей координат и направлений движений. Общие положения.
Ось Х на ней указана верно?
Вложения
3832403image014.gif
3832403image014.gif (10.52 КБ) 7297 просмотров
alex_sar
Мастер
Сообщения: 1863
Зарегистрирован: 28 авг 2018, 17:13
Репутация: 315
Настоящее имя: Алексей
Контактная информация:

Re: Контроллеры myCNC

Сообщение alex_sar »

MiG77 писал(а): Он хорошо разбирается в Солидкаме. Ошибок не нашел.
вы какие-то удивительные вещи говорите.

если солидкам строит неправильную траекторию, проблема либо в нём (это вряд ли), либо в том как пользователь им пользуется, либо в постпроцессоре. других вариантов просто нет.

направление осей станка должно быть по стандарту, тут честное слово - не надо ничего придумывать и ломать.
MiG77 писал(а): Ось Х на ней указана верно?
Да, а что смущает?

Кстати, важно что стрелками всегда показано движение фрезы по детали. Если стол ездит, можно запутаться (я путался так).
Последний раз редактировалось alex_sar 18 окт 2023, 11:47, всего редактировалось 1 раз.
Ответить

Вернуться в «Электроника»