1и611пмф3 модернизация

Токарные станки с ЧПУ.
sidor094
Мастер
Сообщения: 826
Зарегистрирован: 20 фев 2014, 09:13
Репутация: 81
Настоящее имя: Сергей
Откуда: Москва
Контактная информация:

1и611пмф3 модернизация

Сообщение sidor094 »

Приобрел токарный чпу станок 1и611пмф3.Хочу сделать из него станок с чпу и с широкими возможностями для работы в качестве универсального станка.Заменил привода шд5 с гидроусилителями на 86 сервошаговые.Управление планируется автономное от микроконтроллера stm32f467.Кроме того на суппорте будет установлен дополнительный микроконтроллер stm32f103 для реализации ручного управления.К нему подключаются небольшой дисплей от ардуины , 3 энкодера ,джойстик и переклчатели с кнопками.Связь осуществляется через ком порт или 485.Назначению джойстиков такое:штурвал,регулятор скорости шпинделя с реверсом для ручного нарезания резьб и третий рядо с дисплеем ардуиновский для оперативного измененния скорости подачи. На данный момент программная часть практически готова,но требуется дополнительная отладка в работе.Основная плата подключена и вроде работает .Дополнительную плату упаковываю в корпус ,который будет установлен на супорте.В процессе пришлось поменять подшипники на ШВП координаты Z и пришлось наварить (удлинить ШВП координаты X).Кроме того выяснилось ,что в резцедержке не хватает кулачков.Так что поначалу крутить её придется в ручную.После пробной проточки понял,что надо менять подшипники шпинделя.Но это все в процессе.На поперечную координату для выхода в 0 поставил два концевика.Один на каретку,а второй на швп.Теперь повторяемость выхода в 0 микроны на продольной координате стоит такой же индуктивный концевик но один там точность раз в 20 ниже около 2-3 соток но для неё это не столь важно.
sidor094
Мастер
Сообщения: 826
Зарегистрирован: 20 фев 2014, 09:13
Репутация: 81
Настоящее имя: Сергей
Откуда: Москва
Контактная информация:

Re: 1и611пмф3 модернизация

Сообщение sidor094 »

IMG_20210912_152342.jpg (1568 просмотров) <a class='original' href='./download/file.php?id=198066&mode=view' target=_blank>Загрузить оригинал (4.55 МБ)</a>
Внешний вид станка.
IMG_20210912_151639.jpg (1568 просмотров) <a class='original' href='./download/file.php?id=198067&mode=view' target=_blank>Загрузить оригинал (4.13 МБ)</a>
IMG_20210912_151632.jpg (1568 просмотров) <a class='original' href='./download/file.php?id=198068&mode=view' target=_blank>Загрузить оригинал (3.53 МБ)</a>
Привод продольной подачи
IMG_20210912_152328.jpg (1568 просмотров) <a class='original' href='./download/file.php?id=198069&mode=view' target=_blank>Загрузить оригинал (6.86 МБ)</a>
Поперечная подача.
IMG_20210912_151706.jpg (1568 просмотров) <a class='original' href='./download/file.php?id=198070&mode=view' target=_blank>Загрузить оригинал (3.05 МБ)</a>
Система управления.
Vitalii
Опытный
Сообщения: 164
Зарегистрирован: 08 янв 2017, 05:18
Репутация: 77
Настоящее имя: Vitaliy
Откуда: Россия, Ульяновск
Контактная информация:

Re: 1и611пмф3 модернизация

Сообщение Vitalii »

Я конечно не эксперт. Но по моему маленькому опыту нужно начинать с механики. Отмыть отчистить убедиться, что все катается/крутится не заедает. Нет неприемлемого износа и только после того как этот этап будет пройден, приступать к системе управления. Иначе может ждать разочарование, которое может сильно повредить боевому духу запустить станок...
sidor094
Мастер
Сообщения: 826
Зарегистрирован: 20 фев 2014, 09:13
Репутация: 81
Настоящее имя: Сергей
Откуда: Москва
Контактная информация:

Re: 1и611пмф3 модернизация

Сообщение sidor094 »

Механику по осям сделал.По Z пришлось поменять все подшипники.По X подшипники целы ,но лопнула ШВП по отверстию под палец крепящий шестерню передачи момента с гидроусилителя.Так как и так была очень короткая пришлось протачивать и надваривать.Сейчас нормально работают.Шпиндель шумит и люфтует более 7микрон.Заказал шпиндельные подшипники .Менять буду все.На следующей неделе придут.Пока занялся пультом .Сделал коробку ,подключил.Все работает.Осталось установить на суппорт и доработать механику управления шпинделем.В принципе шпиндель уже нормально управляется,но надо сделать более жестко .Для етого подложу плитки для подтормаживания штурвала.
sidor094
Мастер
Сообщения: 826
Зарегистрирован: 20 фев 2014, 09:13
Репутация: 81
Настоящее имя: Сергей
Откуда: Москва
Контактная информация:

Re: 1и611пмф3 модернизация

Сообщение sidor094 »

Вот видео пробы работы с пультом.
https://youtu.be/o906fDx8vio
sidor094
Мастер
Сообщения: 826
Зарегистрирован: 20 фев 2014, 09:13
Репутация: 81
Настоящее имя: Сергей
Откуда: Москва
Контактная информация:

Re: 1и611пмф3 модернизация

Сообщение sidor094 »

Для повышения точности нуля по X кроме основного концевика поставил дополнительный на швп.
IMG_20210918_163637.jpg (1423 просмотра) <a class='original' href='./download/file.php?id=198176&mode=view' target=_blank>Загрузить оригинал (5.66 МБ)</a>
Это позволило достичь повторяемости выхода в ноль с точностью до 1 шага(чуть больше 1 микрона).Даже при применении не особеноо точных индуктивных датчиков
Vitalii
Опытный
Сообщения: 164
Зарегистрирован: 08 янв 2017, 05:18
Репутация: 77
Настоящее имя: Vitaliy
Откуда: Россия, Ульяновск
Контактная информация:

Re: 1и611пмф3 модернизация

Сообщение Vitalii »

sidor094 писал(а): Заказал шпиндельные подшипники .Менять буду все. На следующей неделе придут.
Если осветите этот момент буду благодарен. Процедура, насколько мне видится, не простая. Нужно собрать без кольца, померить, подшлифовать кольцо, собрать.
В любом случае, удачи!
sidor094
Мастер
Сообщения: 826
Зарегистрирован: 20 фев 2014, 09:13
Репутация: 81
Настоящее имя: Сергей
Откуда: Москва
Контактная информация:

Re: 1и611пмф3 модернизация

Сообщение sidor094 »

Vitalii писал(а): Если осветите этот момент буду благодарен.
Постараюсь.Кстати многие вообще кольцо не ставят.Например на видео у Леонтьева .Есть регулировка подшипников шпинделя.В том числе подтягивается передний подшипник.Если бы стояло кольцо такое было бы не возможно.Отсюда вывод -либо кольца нет ,либо оно меньше по толщине и,соответственно не работает.Или не работало до подтягивания подшипника.
Vitalii
Опытный
Сообщения: 164
Зарегистрирован: 08 янв 2017, 05:18
Репутация: 77
Настоящее имя: Vitaliy
Откуда: Россия, Ульяновск
Контактная информация:

Re: 1и611пмф3 модернизация

Сообщение Vitalii »

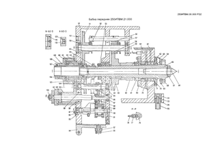
У Леонтьева поди 16к20 там может быть другая конструкция шпинделя. Я сделал предположение, что 1и611пмф3 имеет ту же конструкцию, что и ИЖ250ИТВМ (который есть у меня) и согласно паспорта регулировка проводится:
Регулировка.png (1365 просмотров) <a class='original' href='./download/file.php?id=198180&mode=view' target=_blank>Загрузить оригинал (133.21 КБ)</a>
p0076.png (1365 просмотров) <a class='original' href='./download/file.php?id=198181&mode=view' target=_blank>Загрузить оригинал (97.26 КБ)</a>
sidor094
Мастер
Сообщения: 826
Зарегистрирован: 20 фев 2014, 09:13
Репутация: 81
Настоящее имя: Сергей
Откуда: Москва
Контактная информация:

Re: 1и611пмф3 модернизация

Сообщение sidor094 »

Нет конструкция передней бабки точно такая-же как у 1и611 квдратного.У Ижа более напоминает круглый .там вместо гайки шестерня.Хотя сути это не меняет.Все очень похоже.По паспорту действительно все так.Но многие делают без кольца тогда тянется как у Леонтьева.У него есть регулировка как 16к20 так и 1и611 водном и том же ролике.
https://youtu.be/JaNJRm73FjY
Если кольцо точно подобрано ,то надо тянуть гайку пока обойма не упрется в кольцо.Тянуть меньше кольцо не будет работать.Больше не даст кольцо. Если конечно я правильно понимаю.
sidor094
Мастер
Сообщения: 826
Зарегистрирован: 20 фев 2014, 09:13
Репутация: 81
Настоящее имя: Сергей
Откуда: Москва
Контактная информация:

Re: 1и611пмф3 модернизация

Сообщение sidor094 »

Вот описание регулировки в паспорте.
post-13588-1258963976.jpg (1346 просмотров) <a class='original' href='./download/file.php?id=198182&mode=view' target=_blank>Загрузить оригинал (68.79 КБ)</a>
Ответить

Вернуться в «Токарные станки»