Автономный контроллер для самодельного лазерного гравера
- 
				Andrey_Pavkin
 - Мастер
 - Сообщения: 211
 - Зарегистрирован: 09 янв 2017, 12:10
 - Репутация: 293
 - Настоящее имя: Andrey
 - Контактная информация:
 
Re: Автономный контроллер для самодельного лазерного гравера
Проба обработки 3д (МДФ) , сильно не кретикуйте.
Видео- https://cloud.mail.ru/public/Jfsv/nHuJzSnwG
			
							
			
									
									
						Видео- https://cloud.mail.ru/public/Jfsv/nHuJzSnwG
- санчо
 - Кандидат
 - Сообщения: 83
 - Зарегистрирован: 08 авг 2017, 20:28
 - Репутация: 71
 - Настоящее имя: алекс
 - Контактная информация:
 
Re: Автономный контроллер для самодельного лазерного гравера
вся бяка что вторую я прошил той что для 2х осевого идет в этой теме, собрал контролер все работает, флешку видит, с image-to-gcode работает, а с этой никакArrSoft писал(а): а с ГРБЛ он и не соединиться никогда, только со своей версией программы.
изображение можно будет вставить только когда откроется порт.
как говорил Артур, это не совсем ГРБЛ, у этого контроллера используются свои команды.
- Козёл
 - Мастер
 - Сообщения: 252
 - Зарегистрирован: 15 мар 2017, 12:07
 - Репутация: 482
 - Настоящее имя: Артурио
 - Откуда: Бишкек
 - Контактная информация:
 
Re: Автономный контроллер для самодельного лазерного гравера
Я не хочу их разделять, т.к. по сути это два одинаковых контроллера, если смотреть на исходный код. Правда в данный момент это не так, но я скоро обновлю прошивку для лазера, и тогда будет так.sergey27rus писал(а):Надо разделять темы, иначе путаница пойдет.
Ручное управление не идеально, но не настолько как вы описали. Сегодня закончил вносить изменения в jogging, посмотрим как оно теперь будет. По идее сейчас быстрей реагирует на кнопки. Также теперь возможно выбрать размер сетки. И еще при выборе файла кнопки Y+ и Y- работают как PageUp и PageDown.sergey27rus писал(а):Сегодня нажимал в холостую кнопки, нажимал на ось х быстро , а через нажатий 10 переключается ось у. И возможно ли сделать при холостом перемещении в jog примерно 0,01 0.1 ?
Обновление сбросит все настройки. И настройки немножко изменились.
- Козёл
 - Мастер
 - Сообщения: 252
 - Зарегистрирован: 15 мар 2017, 12:07
 - Репутация: 482
 - Настоящее имя: Артурио
 - Откуда: Бишкек
 - Контактная информация:
 
Re: Автономный контроллер для самодельного лазерного гравера
Рядом с кнопкой Отправить есть кнопка Стандартный ответ, там и можно прикрепить файлы. И вы похоже обсуждаете какую-то другую программу?санчо писал(а):вся бяка что вторую я прошил той что для 2х осевого идет в этой теме, собрал контролер все работает, флешку видит, с image-to-gcode работает, а с этой никак :wik: про изображение я понял. Выразился не точно - хотел скрин в форум вставить но не понял как это сделать :thinking:
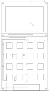
Не знаю когда смогу сделать корпус для пульта. Выложу не законченый чертеж, может кому-нибудь поможет.
- Вложения
 - 
			
		
		
				
- Untitled-2.cdr
 - Файл для CorelDRAW X3.
 - (27.93 КБ) 1028 скачиваний
 
 
- ArrSoft
 - Мастер
 - Сообщения: 424
 - Зарегистрирован: 20 май 2017, 18:31
 - Репутация: 235
 - Настоящее имя: добродушненький
 - Контактная информация:
 
Re: Автономный контроллер для самодельного лазерного гравера
что бы Вы знали Козел(Артур)целыми днями носится с этим контроллером, пишет , проверяет, парень заслужил вознаграждение за свои труды
			
			
													
					Последний раз редактировалось ArrSoft 01 ноя 2017, 19:41, всего редактировалось 2 раза.
									
			
									
						- sergey27rus
 - Почётный участник

 - Сообщения: 1146
 - Зарегистрирован: 15 авг 2013, 07:22
 - Репутация: 730
 - Настоящее имя: Сергей
 - Откуда: Хабаровск Дальний Восток РФ
 - Контактная информация:
 
Re: Автономный контроллер для самодельного лазерного гравера
Прошивка обновилась? или еще в процессе?Козёл писал(а):Ручное управление не идеально, но не настолько как вы описали. Сегодня закончил вносить изменения в jogging, посмотрим как оно теперь будет. По идее сейчас быстрей реагирует на кнопки. Также теперь возможно выбрать размер сетки. И еще при выборе файла кнопки Y+ и Y- работают как PageUp и PageDown.
- Козёл
 - Мастер
 - Сообщения: 252
 - Зарегистрирован: 15 мар 2017, 12:07
 - Репутация: 482
 - Настоящее имя: Артурио
 - Откуда: Бишкек
 - Контактная информация:
 
Re: Автономный контроллер для самодельного лазерного гравера
Да. Обновил файл на Яндекс.Диске.sergey27rus писал(а):Прошивка обновилась? или еще в процессе?
- 
				ua6brt
 - Новичок
 - Сообщения: 7
 - Зарегистрирован: 14 сен 2017, 15:21
 - Репутация: 9
 - Настоящее имя: Геннадий
 - Контактная информация:
 
Re: Автономный контроллер для самодельного лазерного гравера
парни, наткнулся вот на такую конструкцию станка https://www.marginallyclever.com/shop/i ... O-0027.jpg. как то можно пульт для выжигателя к такой кинематике прикрутить? чего то не смог разобраться.corexy это же другая кинематика? Подкупает простота, отсутствие направляющих, для рисования самое то! Или заблуждаюсь?
			
			
									
									
						- 
				ua6brt
 - Новичок
 - Сообщения: 7
 - Зарегистрирован: 14 сен 2017, 15:21
 - Репутация: 9
 - Настоящее имя: Геннадий
 - Контактная информация:
 
Re: Автономный контроллер для самодельного лазерного гравера
а еще, это расширит возможности станкостроения! Пенорезку можно будет сделать. Извините!!!! За мультипостинг,я не подумал. Уже неделю в голове мысль про такую кинематику роится!
			
			
													
					Последний раз редактировалось ua6brt 02 ноя 2017, 16:58, всего редактировалось 1 раз.
									
			
									
						- sergey27rus
 - Почётный участник

 - Сообщения: 1146
 - Зарегистрирован: 15 авг 2013, 07:22
 - Репутация: 730
 - Настоящее имя: Сергей
 - Откуда: Хабаровск Дальний Восток РФ
 - Контактная информация:
 
Re: Автономный контроллер для самодельного лазерного гравера
Лучше не мультипостить, а отредактировать ваше сообщение выше. Да еще и с маленькой буквыua6brt писал(а):а еще, это расширит возможности станкостроения! Пенорезку можно будет сделать.
- ArrSoft
 - Мастер
 - Сообщения: 424
 - Зарегистрирован: 20 май 2017, 18:31
 - Репутация: 235
 - Настоящее имя: добродушненький
 - Контактная информация:
 
Re: Автономный контроллер для самодельного лазерного гравера
какашка это, а не конструкция, яркий пример лени и криворукостиua6brt писал(а):парни, наткнулся вот на такую конструкцию станка https://www.marginallyclever.com/shop/i ... O-0027.jpg. как то можно пульт для выжигателя к такой кинематике прикрутить? чего то не смог разобраться.corexy это же другая кинематика? Подкупает простота, отсутствие направляющих, для рисования самое то! Или заблуждаюсь?
- санчо
 - Кандидат
 - Сообщения: 83
 - Зарегистрирован: 08 авг 2017, 20:28
 - Репутация: 71
 - Настоящее имя: алекс
 - Контактная информация:
 
Re: Автономный контроллер для самодельного лазерного гравера
прошвка STDALN.hex брал здесь https://sites.google.com/view/arrsoft/% ... 0%B5%D1%80, с конвертатором работает, а вот с laser usb controller не работает брал там же https://sites.google.com/view/arrsoft/% ... controller правда для скачивания она имеет название lasercut-windows.zip. сейчас скачал по новой, а там другой конвертатор и с ним уже не хочет работать, я так понимаю что нужно по новой прошить контролер моя прошивка и конвертатор устарели, я правильно понимаю?Козёл писал(а):И вы похоже обсуждаете какую-то другую программу?
- Козёл
 - Мастер
 - Сообщения: 252
 - Зарегистрирован: 15 мар 2017, 12:07
 - Репутация: 482
 - Настоящее имя: Артурио
 - Откуда: Бишкек
 - Контактная информация:
 
Re: Автономный контроллер для самодельного лазерного гравера
Это разные программы!!! И абсолютно разные прошивки. Я смотрю вы пользуетесь автономным контроллером, и пытаетесь еще использовать Laser USB Controller зачем-то? Т.к. контроллер автономный, то управление станком осуществляется только с контроллера, если вы об этом. С компьютера можно только отправлять g-код. Я не знаю зачем вы все это по скачивали, но вам нужен файл standaloneGRBL_2axis.zip (https://yadi.sk/d/7bHaRurQ3LtvVW ссылка также есть в первом сообщении). Просто обновите прошивку, проверьте настройки контроллера, и используйте новую версию конвертатора (image-to-gcode).санчо писал(а):прошвка STDALN.hex брал здесь https://sites.google.com/view/arrsoft/% ... 0%B5%D1%80, с конвертатором работает, а вот с laser usb controller не работает брал там же https://sites.google.com/view/arrsoft/% ... controller правда для скачивания она имеет название lasercut-windows.zip. сейчас скачал по новой, а там другой конвертатор и с ним уже не хочет работать, я так понимаю что нужно по новой прошить контролер моя прошивка и конвертатор устарели, я правильно понимаю?
- санчо
 - Кандидат
 - Сообщения: 83
 - Зарегистрирован: 08 авг 2017, 20:28
 - Репутация: 71
 - Настоящее имя: алекс
 - Контактная информация:
 
Re: Автономный контроллер для самодельного лазерного гравера
дело в том что Laser USB Controller не работает ни у меня ни с чем, вот я и запуталсяКозёл писал(а):Это разные программы!!! И абсолютно разные прошивки. Я смотрю вы пользуетесь автономным контроллером, и пытаетесь еще использовать Laser USB Controller зачем-то? Т.к. контроллер автономный, то управление станком осуществляется только с контроллера, если вы об этом. С компьютера можно только отправлять g-код. Я не знаю зачем вы все это по скачивали, но вам нужен файл standaloneGRBL_2axis.zip (https://yadi.sk/d/7bHaRurQ3LtvVW ссылка также есть в первом сообщении). Просто обновите прошивку, проверьте настройки контроллера, и используйте новую версию конвертатора (image-to-gcode).
- 
				ua6brt
 - Новичок
 - Сообщения: 7
 - Зарегистрирован: 14 сен 2017, 15:21
 - Репутация: 9
 - Настоящее имя: Геннадий
 - Контактная информация:
 
Re: Автономный контроллер для самодельного лазерного гравера
Мнений может быть много, у каждого свое. мое мнение, что это классная возможность приобщить школьников к чпу строению. за счет дешевизны и доступности. Я тоже начинал не с рельсов и линейные подшипники изобретал разные. Просто спросил, возможно ли подключить пульт к такой кинематике.ArrSoft писал(а):какашка это, а не конструкция, яркий пример лени и криворукостиua6brt писал(а):парни, наткнулся вот на такую конструкцию станка https://www.marginallyclever.com/shop/i ... O-0027.jpg. как то можно пульт для выжигателя к такой кинематике прикрутить? чего то не смог разобраться.corexy это же другая кинематика? Подкупает простота, отсутствие направляющих, для рисования самое то! Или заблуждаюсь?
- spryt
 - Кандидат
 - Сообщения: 90
 - Зарегистрирован: 21 май 2017, 20:02
 - Репутация: 89
 - Настоящее имя: Тимур
 - Контактная информация:
 
Re: Автономный контроллер для самодельного лазерного гравера
Чтобы понять стандартную схему ЧПУ, лучше уже использовать мебельные направляющие.ua6brt писал(а):мое мнение, что это классная возможность приобщить школьников к чпу строению. за счет дешевизны и доступности.
В Вашем случае, такую кинематику они не встретят в своей жизни.
Я так думаю.
- Сергей Саныч
 - Мастер
 - Сообщения: 9116
 - Зарегистрирован: 30 май 2012, 14:20
 - Репутация: 2858
 - Откуда: Тюмень
 - Контактная информация:
 
Re: Автономный контроллер для самодельного лазерного гравера
Поищите по форуму слово "граффити".ua6brt писал(а):парни, наткнулся вот на такую конструкцию станка https://www.marginallyclever.com/shop/i ... O-0027.jpg. как то можно пульт для выжигателя к такой кинематике прикрутить? чего то не смог разобраться.corexy это же другая кинематика? Подкупает простота, отсутствие направляющих, для рисования самое то! Или заблуждаюсь?
Чудес не бывает. Бывают фокусы.
						- ArrSoft
 - Мастер
 - Сообщения: 424
 - Зарегистрирован: 20 май 2017, 18:31
 - Репутация: 235
 - Настоящее имя: добродушненький
 - Контактная информация:
 
Re: Автономный контроллер для самодельного лазерного гравера
похоже что кореXY подойдет, здесь же одновремено работают 2 оси, и движения по сути такие же, просто упрощенно до минимума, что бы не использовать замкнутый ремень и натяжные ролики -установили противовесы, просто конструкция не имеет жесткости и ничего путного не сможет выполнить.ua6brt писал(а):Мнений может быть много, у каждого свое. мое мнение, что это классная возможность приобщить школьников к чпу строению. за счет дешевизны и доступности. Я тоже начинал не с рельсов и линейные подшипники изобретал разные. Просто спросил, возможно ли подключить пульт к такой кинематике.ArrSoft писал(а):какашка это, а не конструкция, яркий пример лени и криворукостиua6brt писал(а):парни, наткнулся вот на такую конструкцию станка https://www.marginallyclever.com/shop/i ... O-0027.jpg. как то можно пульт для выжигателя к такой кинематике прикрутить? чего то не смог разобраться.corexy это же другая кинематика? Подкупает простота, отсутствие направляющих, для рисования самое то! Или заблуждаюсь?
- sergey27rus
 - Почётный участник

 - Сообщения: 1146
 - Зарегистрирован: 15 авг 2013, 07:22
 - Репутация: 730
 - Настоящее имя: Сергей
 - Откуда: Хабаровск Дальний Восток РФ
 - Контактная информация:
 
Re: Автономный контроллер для самодельного лазерного гравера
Небольшой тест. https://yadi.sk/i/dAT0Pn6N3PP4qd
А плавнее может окружности рисовать? И есть ли полный список настроек в блокноте settings
https://youtu.be/kpWftm1vBmc
			
			
													А плавнее может окружности рисовать? И есть ли полный список настроек в блокноте settings
https://youtu.be/kpWftm1vBmc
					Последний раз редактировалось sergey27rus 04 ноя 2017, 09:43, всего редактировалось 2 раза.
									
			
									
						- lobzik
 - Кандидат
 - Сообщения: 53
 - Зарегистрирован: 22 ноя 2012, 14:33
 - Репутация: 32
 - Контактная информация:
 
Re: Автономный контроллер для самодельного лазерного гравера
Вот и я решаюсь сделать автономник вместо компа под свой фрезер. Буду делать плату без ардуины, просто на меге 2560. Но вот не понятно будут ли работать мои коды для ЕМС2? И еще очень важно сделать поиск заготовки по пробнику Каким бы G кодом воспользоваться?