Именно, укрупненная схема без номиналов и т.д.Ворон226 писал(а):Разве можно просто на вход платы подавать +5 вольт без ограничивающих резисторов и т.п. Или пока схема показывает только логику работы процесса включения-выключения станка?
Правильная схема электроавтоматики.
- ukr-sasha
- Мастер
- Сообщения: 3401
- Зарегистрирован: 21 мар 2011, 07:47
- Репутация: 2181
- Настоящее имя: Украинец Александр Григорьевич
- Откуда: Киев, Украина
- Контактная информация:
Re: Правильная схема электроавтоматики.
- Боотур
- Мастер
- Сообщения: 325
- Зарегистрирован: 30 авг 2013, 03:20
- Репутация: 9
- Откуда: Республика Саха Якутия Мегино-Кангаласский улус
- Контактная информация:
Re: Правильная схема электроавтоматики.
Как знаю E-stop-это экстренный останов станка при аварийной ситуации, при этом вырубает все и сразу, даже если это аварийная ситуация вызвана самой программой управления станка. Но я не знаю как отработает сама программа в такой ситуации, конечно если питание компа не будет связан с E-stop.
Вот что я думаю насчет Estop. Возможно я буду не прав, вместо экстренного останова сделать так чтобы программа встала на паузу а питание моторов вырубалось. Получается что станок останавливается а программа встает в режиме пауза. После устранения неисправности нужно стартовать уже смотря от того, какая программа на что способна после останова, паузы и.т.д. Просто можно сохранить , запомнить на какой координате сделан останов и начать с этого, ну смысл наверное ясен.
Вот что я думаю насчет Estop. Возможно я буду не прав, вместо экстренного останова сделать так чтобы программа встала на паузу а питание моторов вырубалось. Получается что станок останавливается а программа встает в режиме пауза. После устранения неисправности нужно стартовать уже смотря от того, какая программа на что способна после останова, паузы и.т.д. Просто можно сохранить , запомнить на какой координате сделан останов и начать с этого, ну смысл наверное ясен.
- Ворон226
- Мастер
- Сообщения: 1923
- Зарегистрирован: 01 окт 2012, 18:14
- Репутация: 181
- Откуда: Солнечногорск Московской обл. - Борки Конаковского р-на - Скоморохово Фировского р-на
- Контактная информация:
Re: Правильная схема электроавтоматики.
E-stop должен отключить всё, что движется. И это отключение по E-stop должно быть безусловным.
Другое дело, что компьютер отключать нет нужды. Нужно просто ИЗВЕСТИТЬ его о состоянии E-stop. Как?
Либо кнопки E-stop должны иметь две группы контактов (один для отключения "двигателей", другой на вход компа, либо по кнопке E-stop срабатывает реле, которое использует одну из своих групп контактов для "оповещения" компьютера.
А уже ЧТО будет делать программа по сигналу E-stop - это совсем другая тема. Но может быть как останов, либо пауза, либо отключение.
Другое дело, что компьютер отключать нет нужды. Нужно просто ИЗВЕСТИТЬ его о состоянии E-stop. Как?
Либо кнопки E-stop должны иметь две группы контактов (один для отключения "двигателей", другой на вход компа, либо по кнопке E-stop срабатывает реле, которое использует одну из своих групп контактов для "оповещения" компьютера.
А уже ЧТО будет делать программа по сигналу E-stop - это совсем другая тема. Но может быть как останов, либо пауза, либо отключение.
Хочешь быть счастливым? Будь им!
- mhael
- Мастер
- Сообщения: 2443
- Зарегистрирован: 09 мар 2013, 11:22
- Репутация: 769
- Настоящее имя: Ильдар
- Контактная информация:
Re: Правильная схема электроавтоматики.
Это как? Т.е. питание с моторов не снимается?ukr-sasha писал(а):при отсутствии сигнала Enable усилитель сам останавливается на удержание
- Serg
- Мастер
- Сообщения: 21923
- Зарегистрирован: 17 апр 2012, 14:58
- Репутация: 5183
- Заслуга: c781c134843e0c1a3de9
- Настоящее имя: Сергей
- Откуда: Москва
- Контактная информация:
Re: Правильная схема электроавтоматики.
Только потом не пугайся, когда всё обесточишь и полезешь вовнутрь с отвёрткой, а она приварится к питаюшим проводам со спецэффектами.ukr-sasha писал(а):- убрал реле и резистор разрядки конденсаторов, так как при отсутствии сигнала Enable усилитель сам останавливается на удержание ;
Я не Христос, рыбу не раздаю, но могу научить, как сделать удочку...
- ukr-sasha
- Мастер
- Сообщения: 3401
- Зарегистрирован: 21 мар 2011, 07:47
- Репутация: 2181
- Настоящее имя: Украинец Александр Григорьевич
- Откуда: Киев, Украина
- Контактная информация:
Re: Правильная схема электроавтоматики.
Это я понимаю. Других ограничений нет?UAVpilot писал(а):Только потом не пугайся, когда всё обесточишь и полезешь вовнутрь с отвёрткой, а она приварится к питаюшим проводам со спецэффектами.
- Ворон226
- Мастер
- Сообщения: 1923
- Зарегистрирован: 01 окт 2012, 18:14
- Репутация: 181
- Откуда: Солнечногорск Московской обл. - Борки Конаковского р-на - Скоморохово Фировского р-на
- Контактная информация:
Re: Правильная схема электроавтоматики.
Двигаюсь дальше... Оптрон не нужен.
А вот включение реле интересно было бы привязать к окончанию загрузки LCNC. Думаю дальше.
А вот включение реле интересно было бы привязать к окончанию загрузки LCNC. Думаю дальше.
Хочешь быть счастливым? Будь им!
- ukr-sasha
- Мастер
- Сообщения: 3401
- Зарегистрирован: 21 мар 2011, 07:47
- Репутация: 2181
- Настоящее имя: Украинец Александр Григорьевич
- Откуда: Киев, Украина
- Контактная информация:
Re: Правильная схема электроавтоматики.
У меня такого нет, нужно добавить.Ворон226 писал(а):А вот включение реле интересно было бы привязать к окончанию загрузки LCNC.
- ukr-sasha
- Мастер
- Сообщения: 3401
- Зарегистрирован: 21 мар 2011, 07:47
- Репутация: 2181
- Настоящее имя: Украинец Александр Григорьевич
- Откуда: Киев, Украина
- Контактная информация:
Re: Правильная схема электроавтоматики.
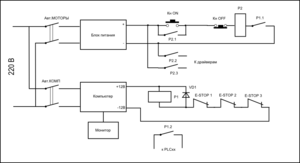
Заменил некоторые реле на оптопары и добавил сигнал готовности контроллера.
- mhael
- Мастер
- Сообщения: 2443
- Зарегистрирован: 09 мар 2013, 11:22
- Репутация: 769
- Настоящее имя: Ильдар
- Контактная информация:
Re: Правильная схема электроавтоматики.
Здорово, только не понятно как вы включите оптопару V02 до того, как включите усилок.ukr-sasha писал(а):Заменил некоторые реле на оптопары и добавил сигнал готовности контроллера.
- Боотур
- Мастер
- Сообщения: 325
- Зарегистрирован: 30 авг 2013, 03:20
- Репутация: 9
- Откуда: Республика Саха Якутия Мегино-Кангаласский улус
- Контактная информация:
Re: Правильная схема электроавтоматики.
В том то и дело что компьютер не нужно отключать, нужно ставить программу отработки в паузу а все остальное вырубить. Так вот здесь имеется один нюанс, не знаю как в других программах, а в НсСтудио в режиме пауза шпиндель поднимается но не выключается. Так по крайнем мере написано в мануале.Ворон226 писал(а):Другое дело, что компьютер отключать нет нужды. Нужно просто ИЗВЕСТИТЬ его о состоянии E-stop. Как?Либо кнопки E-stop должны иметь две группы контактов (один для отключения "двигателей", другой на вход компа, либо по кнопке E-stop срабатывает реле, которое использует одну из своих групп контактов для "оповещения" компьютера.
А как сделать програмно чтоб НсСтудио встало на паузу при нажатии E-stop я не знаю. Пока не имею такой возможности.
Думаю сделать так, вывести 2 провода с клавиши быстрого вызова(с клавиатуры) отвечающего за паузу и совместить с E-stop. А вот кнопка E-stop работает на размыкание а клавиша клавиатуры на замыкание, нужно сделать так чтоб замкнул и разомкнулся.
- ukr-sasha
- Мастер
- Сообщения: 3401
- Зарегистрирован: 21 мар 2011, 07:47
- Репутация: 2181
- Настоящее имя: Украинец Александр Григорьевич
- Откуда: Киев, Украина
- Контактная информация:
Re: Правильная схема электроавтоматики.
Верное замечание. Правда сейчас не помню, активный уровень низкий или высокий. Но заменить не проблема, подтяну к +5В.mhael писал(а):Здорово, только не понятно как вы включите оптопару V02 до того, как включите усилок.
Ну вы и глазастый. Спасибо.
- Ворон226
- Мастер
- Сообщения: 1923
- Зарегистрирован: 01 окт 2012, 18:14
- Репутация: 181
- Откуда: Солнечногорск Московской обл. - Борки Конаковского р-на - Скоморохово Фировского р-на
- Контактная информация:
Re: Правильная схема электроавтоматики.
Два ключа последовательно - тоже не гуд. Это про Faul и Ready.ukr-sasha писал(а):Заменил некоторые реле на оптопары и добавил сигнал готовности контроллера.
Хочешь быть счастливым? Будь им!
- ukr-sasha
- Мастер
- Сообщения: 3401
- Зарегистрирован: 21 мар 2011, 07:47
- Репутация: 2181
- Настоящее имя: Украинец Александр Григорьевич
- Откуда: Киев, Украина
- Контактная информация:
Re: Правильная схема электроавтоматики.
Можно подробнее почему?Ворон226 писал(а):Два ключа последовательно - тоже не гуд. Это про Faul и Ready.
- Ворон226
- Мастер
- Сообщения: 1923
- Зарегистрирован: 01 окт 2012, 18:14
- Репутация: 181
- Откуда: Солнечногорск Московской обл. - Борки Конаковского р-на - Скоморохово Фировского р-на
- Контактная информация:
Re: Правильная схема электроавтоматики.
Действительно, почему? Наверное, это просто привычка.
Хочешь быть счастливым? Будь им!
- Алексс
- Почётный участник

- Сообщения: 2210
- Зарегистрирован: 20 июл 2012, 15:49
- Репутация: 266
- Заслуга: IQ32
- Настоящее имя: Алексей
- Откуда: Прага
- Контактная информация:
Re: Правильная схема электроавтоматики.
я так понимаю лимиты отключают питание станка ?
и как потом ? разборать часть станка чтобы добраться до винтов и руками съехать с лимита ?
и как потом ? разборать часть станка чтобы добраться до винтов и руками съехать с лимита ?
Каждая собака, бегущая на поводке впереди хозяина, думает, что ведет его за собой.
-
aftaev
- Зачётный участник

- Сообщения: 34042
- Зарегистрирован: 04 апр 2010, 19:22
- Репутация: 6194
- Откуда: Казахстан.
- Контактная информация:
Re: Правильная схема электроавтоматики.
это 100% сбивание координат. Моторы вырубаются, а ЧПУ все еще шлет сигналы моторам.Боотур писал(а):Вот что я думаю насчет Estop. Возможно я буду не прав, вместо экстренного останова сделать так чтобы программа встала на паузу а питание моторов вырубалось. Получается что станок останавливается а программа встает в режиме пауза.
Дилетанту сложные вещи кажутся очень простыми, и только профессионал понимает насколько сложна самая простая вещь
Кто хочет - ищет возможности, кто не хочет - ищет оправдание.
Найди работу по душе и тебе не придется работать.
Кто хочет - ищет возможности, кто не хочет - ищет оправдание.
Найди работу по душе и тебе не придется работать.
- mhael
- Мастер
- Сообщения: 2443
- Зарегистрирован: 09 мар 2013, 11:22
- Репутация: 769
- Настоящее имя: Ильдар
- Контактная информация:
Re: Правильная схема электроавтоматики.
Все для людей )ukr-sasha писал(а):Ну вы и глазастый. Спасибо.
Тоже думал об этом, но поскольку автор пока сам до них не добрался решил повременить, чтоб не писать о том, чего пока еще нет. Но их расположение сейчас уже смущает.Алексс писал(а):я так понимаю лимиты отключают питание станка ?
и как потом ? разборать часть станка чтобы добраться до винтов и руками съехать с лимита ?
- Serg
- Мастер
- Сообщения: 21923
- Зарегистрирован: 17 апр 2012, 14:58
- Репутация: 5183
- Заслуга: c781c134843e0c1a3de9
- Настоящее имя: Сергей
- Откуда: Москва
- Контактная информация:
Re: Правильная схема электроавтоматики.
Заезд за лимиты - это серьёзная авария. По инструкции если это происходит, то оператора станка прогоняют от станка и вызывают наладчика, а он знает как съезжать с лимитов.Алексс писал(а):я так понимаю лимиты отключают питание станка ?
и как потом ? разборать часть станка чтобы добраться до винтов и руками съехать с лимита ?
P.S. Наладчик знает на какую клеммную колодку поставить перемычку. 
Я не Христос, рыбу не раздаю, но могу научить, как сделать удочку...
-
nik1
- Мастер
- Сообщения: 8408
- Зарегистрирован: 02 окт 2012, 07:37
- Репутация: 3629
- Откуда: Красногорск
- Контактная информация:
Re: Правильная схема электроавтоматики.
Не тот случай, это же не на производстве
Лимиты штука нужная, для серв просто необходимая необходимость , во как загнул
У меня лимиты подключены к приводам, за период времени, что станочек работает проблем не было
Несколько раз пригождались
Когда лимит на приводе , то в плюсе более повышенная надежность, больше свободных входов на контроллере
В минусе это резкий стоп, если на большой скорости заехать на лимит, то серва слетает в ошибку
Естесно все имхо
Лимиты штука нужная, для серв просто необходимая необходимость , во как загнул
У меня лимиты подключены к приводам, за период времени, что станочек работает проблем не было
Несколько раз пригождались
Когда лимит на приводе , то в плюсе более повышенная надежность, больше свободных входов на контроллере
В минусе это резкий стоп, если на большой скорости заехать на лимит, то серва слетает в ошибку
Естесно все имхо