- эти пластины циркониевые что вы фрезеруете как правильно называются?
- какая температура спекания?
Поеду скоро в Медтехнику себе в лабораторию всякое покупать нужно этих пластин прикупить, покрошить и попробовать лазером поспекать

Есть ли у Вас опыт использования реконструкций рентгеновских сканов из программ типа EZ3D?Zirkonmill писал(а):Сначала челюсти сканируются (либо гипсовая модель в настольном сканере, либо прямо во рту внутриротовым. У каждого свои плюсы и минусы), потом в специальных прогах моделируется протез, ну а потом уже режется на станке. Надеюсь ответил на несколько вопросов сразу.
Там не только температура, а еще график температуры, индивидуальный для пластин разных производителей.aftaev писал(а):- какая температура спекания?

По разному от 1500 до 1700.aftaev писал(а):а в градусах примерно?
Сканируют и слепки, и отлитые в них модели, и внутриротовые сканеры тоже есть. У каждого из методов сври особенности.UAVpilot писал(а):Афтаеву - вдруг он решил себе зубы проапгрейдить на какие-нибудь особенные, чтоб алюминий грызть например.
По моделированию: вроде ж делают слепок оставшихся зубов, сканируют (слепок или отливку в него), а потом моделируют недостающие зубы?
Да, только это не самый лучший станок.Nick писал(а):Вот так зубы сканируют обрабатывают и вырезают:
https://www.youtube.com/watch?v=MjQwr9uwd1o
Вот отсюда:
Как из нескольких фоток/рисунков получить 3d векторный файл? #72
ЗЫ судя по видео, там не то, что 5D обработка, а прямо таки, самая, что ни на есть 3+1d
Не пластины, блоки пресованые изостатом, а потом частично спеченные. Усадка около 20%. Но фрезеровать их лучше на станках приспособленых для блоков, причем очень важна стратегия, колется такой материал сильно.aftaev писал(а):Zirkonmill, еще вопросы всплыли:
- эти пластины циркониевые что вы фрезеруете как правильно называются?
- какая температура спекания?
Поеду скоро в Медтехнику себе в лабораторию всякое покупать нужно этих пластин прикупить, покрошить и попробовать лазером поспекать
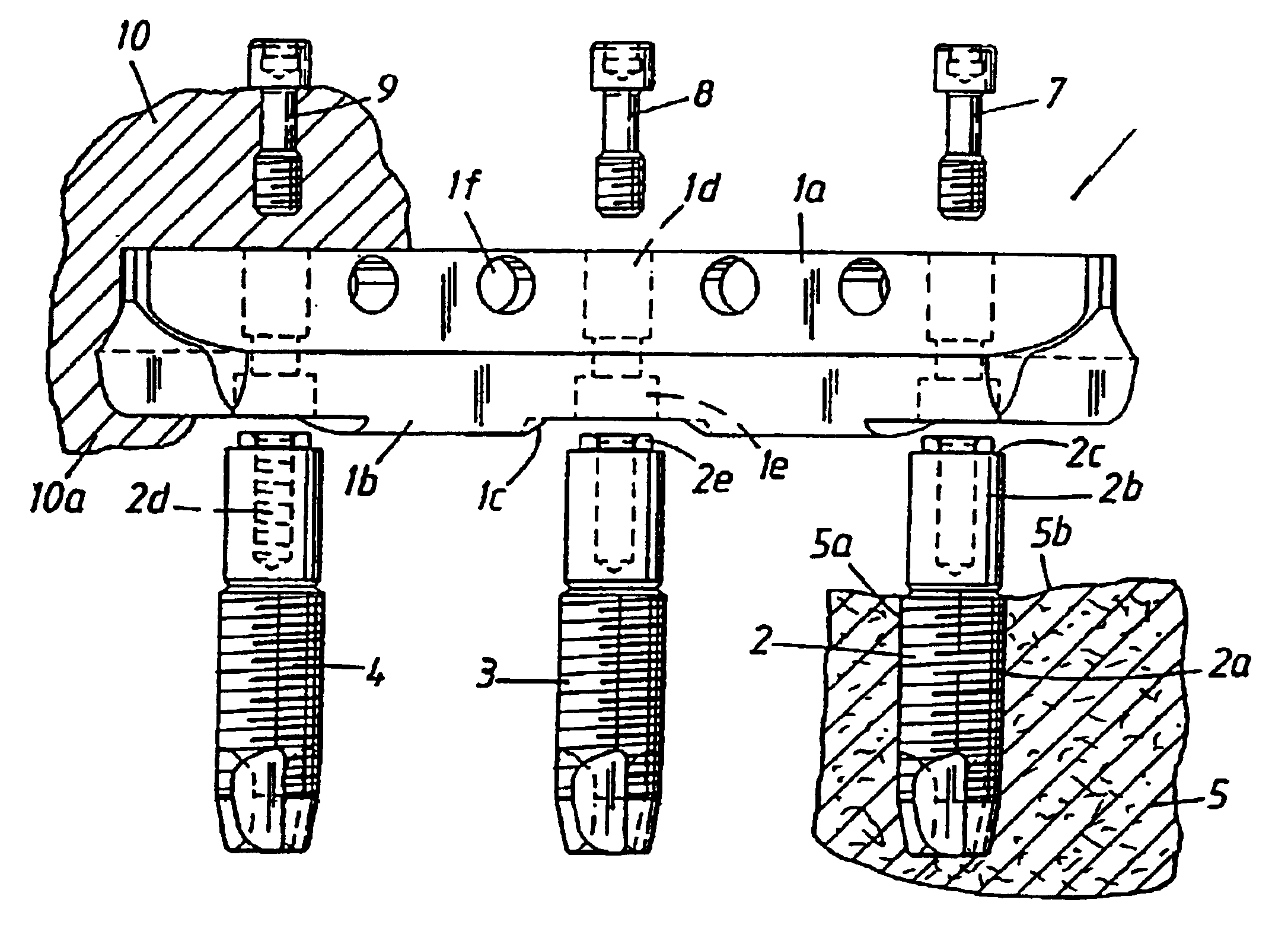
1. И из металла, и из оксида циркония, последний особо аккуратно надо фрезеровать.aftaev писал(а):это из металла?Zirkonmill писал(а):Например в конструкциях на имплантатах есть шахты для винтового крепления конструкции, они могут быть все (до 10 на одну конструкцию) в разных осях.
метод измерения какой?Zirkonmill писал(а): либо прямо во рту внутриротовым.
у ПоверМила есть примочка ДенталZirkonmill писал(а):потом в специальных прогах моделируется протез,
их еще куча появиласьZirkonmill писал(а): Надеюсь ответил на несколько вопросов сразу.
а печатать на 3Д принтере еще не практикуется?Zirkonmill писал(а):Сейчас еще круче - просто раскрашивают в сыром виде, а после спекания полируют, снова раскрашивают и глазурью покрывают.
Рентгеновские 3д снимки используют для хирургии, планирование имплантации и изготовление шаблонов для проведения операций (см. выше). С этим я немного сталкивался.Impartial писал(а):Есть ли у Вас опыт использования реконструкций рентгеновских сканов из программ типа EZ3D?Zirkonmill писал(а):Сначала челюсти сканируются (либо гипсовая модель в настольном сканере, либо прямо во рту внутриротовым. У каждого свои плюсы и минусы), потом в специальных прогах моделируется протез, ну а потом уже режется на станке. Надеюсь ответил на несколько вопросов сразу.
ИМХО - тупиковая технология. Усадка, поверхность не очень, и ооочень высокая стоимость оборудования под один вид материаллов. А режущие станки делают массу материаллов от воска до кобальт-хрома и титана.Fisher писал(а):вроде где-то видел напечатанные зубы. На порошковом принтере.

Вот так [youtube]H3aHIlnmwjc[youtube] а не целиком ссылкуZirkonmill писал(а):Блин. Как в долбаный бб видео вставлять нормально?
Нет, там еще уступы для винта, а со стороны, где к имплатнанам конструкция прилегает - зеркальная форма имплантата (шестигранник обычно).Nick писал(а):Чет я все равно не увидел, где там 5-я ось используется...
А... хотя нет, увидел.
А эти шахты, это просто отверстия круглые?
уступы это типа опора под головку винта. Мы не на столько темные, чтобы путать резбу с уступом. Резба в имплантате, винт прижимает конструкцию к нему.Nick писал(а):Уступы, это типо резьбы? Есть фотография крупным планом?
даSerg-tmn писал(а):Цифра 5 - это челюсть? В смысле - кость?